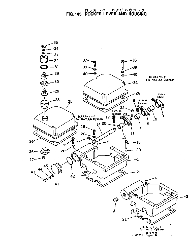
Запчасти Komatsu KT-1150-1A РЫЧАГ КОРОМЫСЛА И КОЖУХ ГОЛОВКА ЦИЛИНДРОВ

Схема запчастей Komatsu KT-1150-1A - РЫЧАГ КОРОМЫСЛА И КОЖУХ ГОЛОВКА ЦИЛИНДРОВ
FIT
1:1
100%

Артикул

Название

Примечание

Количество

|1

CU3200499

HOUSING ASS'Y,ROCKER LEVER¤ NO.1¤2¤3¤4¤5

SN: ..-UP

5шт.

|1

0

HOUSING ASS'Y,ROCKER LEVER

SN: .-..

6шт.

|1

0

HOUSING ASS'Y,ROCKER LEVER

SN: 101153-.

6шт.

1

CU3200483

HOUSING

SN: ..-UP

1шт.

|1

0

HOUSING

SN: .-..

1шт.

|1

0

HOUSING

SN: 101153-.

1шт.

2

CU205129

PIN,DOWEL

SN: 101153-UP

1шт.

|3

CU3200489

HOUSING ASS'Y,ROCKER LEVER¤ NO.6

SN: ..-UP

1шт.

3

CU3200480

HOUSING

SN: ..-UP

1шт.

4

CU205129

PIN,DOWEL

SN: ..-UP

1шт.

5

02720-01213

PLUG

SN: ..-UP

1шт.

|6

CU3013300

ROCKER LEVER ASS'Y,INJECTION

SN: ...-UP

6шт.

|6

0

ROCKER LEVER ASS'Y,INJECTION

SN: ..-...

6шт.

|6

0

ROCKER LEVER ASS'Y,INJECTION

SN: .-..

6шт.

|6

0

ROCKER LEVER ASS'Y,INJECTION

SN: 101153-.

6шт.

6

0

LEVER

SN: ...-UP

1шт.

|6

0

LEVER

SN: ..-...

1шт.

|6

0

LEVER

SN: .-..

1шт.

|6

0

LEVER

SN: 101153-.

1шт.

7

CU207226

BUSHING

SN: .-UP

1шт.

|7

CU205118

LEVER

SN: 101153-.

1шт.

8

CU194037

SOCKET

SN: 101153-UP

1шт.

|9

CU205138

ROCKER LEVER ASS'Y,INTAKE

SN: 101153-UP

6шт.

9

0

LEVER

SN: 101153-UP

1шт.

10

CU207344

BUSHING

SN: 101153-UP

1шт.

|11

CU30013297

ROCKER LEVER ASS'Y,EXHAUST

SN: .-UP

6шт.

|11

0

ROCKER LEVER ASS'Y,EXHAUST

SN: 101153-.

6шт.

11

0

LEVER

SN: .-UP

1шт.

|11

0

LEVER

SN: 101153-.

1шт.

12

CU207344

BUSHING

SN: 101153-UP

1шт.

13

CU208084

RIVET,(NOT SHOWN)

SN: 101153-.

1шт.

|14

CU3008155

SHAFT ASS'Y,ROCKER ARM

SN: .-UP

6шт.

|14

0

SHAFT ASS'Y,ROCKER ARM

SN: 101153-.

6шт.

14

CU3006340

SHAFT

SN: .-UP

1шт.

|14

0

SHAFT

SN: 101153-.

1шт.

15

CU203933

PLUG

SN: 101153-UP

1шт.

16

CU205393

BOLT

SN: 101153-UP

6шт.

17

CU205394

BOLT

SN: 101153-UP

6шт.

18

CU108602

BOLT

SN: 101153-UP

30шт.

19

CUS-125

BOLT

SN: 101153-UP

6шт.

20

CU205128

WASHER

SN: 101153-UP

48шт.

21

CU3005956

GASKET

SN: 128140-UP

6шт.

|21

0

GASKET

SN: 101153-128139

6шт.

22

6710-41-5360

NUT

SN: 101153-UP

8шт.

23

CU168306

SCREW

SN: ..-UP

18шт.

|23

CU213109

SCREW

SN: .-..

18шт.

|23

0

SCREW

SN: 101153-.

18шт.

24

CU3010388

COVER,NO.1¤3¤5

SN: 101153-UP

3шт.

|24

CU3010387

COVER,NO.1¤3¤5 (FOR RETARDER)

SN: 101153-UP

3шт.

|25

CU3007114

COVER ASS'Y,NO.2¤4¤6

SN: 101153-UP

3шт.

25

CU3010396

COVER

SN: 101153-UP

1шт.

26

CU219065

BAFFLE

SN: 101153-UP

1шт.

27

CU3000528

NUT

SN: 101153-UP

1шт.

|28

CU156810

BREATHER ASS'Y

SN: 101153-UP

3шт.

28

CU156812

HOUSING

SN: 101153-UP

1шт.

29

CU254064

CONE

SN: 101153-UP

2шт.

30

CU161917

MESH

SN: 101153-UP

1шт.

31

CU125019

GASKET

SN: .-UP

1шт.

|31

0

GASKET

SN: 101153-.

1шт.

32

CU155997

COVER

SN: 101153-UP

1шт.

33

CU125015

GASKET

SN: 101153-UP

1шт.

34

CU125016

WASHER

SN: 101153-UP

1шт.

35

CU125017

NUT

SN: 101153-UP

1шт.

36

CU3327105

GASKET

SN: .-UP

6шт.

|36

0

GASKET

SN: 101153-.

6шт.

37

CU3012474

BOLT

SN: .-UP

6шт.

|37

0

BOLT

SN: 101153-.

6шт.

38

CUS-169A

BOLT

SN: 101153-UP

12шт.

39

CUS-604

WASHER,SPRING

SN: 101153-UP

18шт.

40

CUS-602

WASHER

SN: 101153-UP

18шт.

41

CU3001375

PLUG,WATER MANIFOLD¤ NO.6

SN: 101153-UP

1шт.

42

CU3028291

O-RING

SN: .-UP

1шт.

|42

0

O-RING

SN: 101153-.

1шт.

43

02010-20622

BOLT

SN: 101153-UP

1шт.

44

02310-01224

WASHER,SPRING

SN: 101153-UP

1шт.

45

CU108330

WASHER

SN: 101153-UP

1шт.

Выбрано товаров: 76