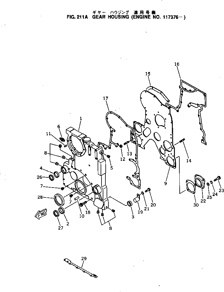
Запчасти Komatsu KT-1150-1A КОЖУХ ШЕСТЕРЕН. ПЕРЕДАЧИ(№77-) БЛОК ЦИЛИНДРОВ

Схема запчастей Komatsu KT-1150-1A - КОЖУХ ШЕСТЕРЕН. ПЕРЕДАЧИ(№77-) БЛОК ЦИЛИНДРОВ
FIT
1:1
100%

Артикул

Название

Примечание

Количество

|$0

CU3012302

GEAR COVER ASS'Y

SN: 117376-UP

1шт.

1

CU3007362

COVER

SN: 117376-UP

1шт.

2

CU132770

BUSHING

SN: 117376-UP

1шт.

3

CU205133

BUSHING

SN: 117376-UP

1шт.

4

CU132770

BUSHING

SN: 117376-UP

1шт.

5

CU175831

PLUG

SN: 117376-UP

1шт.

6

CUS-1039-A

CONNECTOR

SN: 117376-UP

1шт.

7

CU67622

PLUG

SN: 117376-UP

2шт.

8

CU3002158

PLUG

SN: 117376-UP

6шт.

|$9

CU3007658

PLATE ASS'Y

SN: 117376-UP

1шт.

9

CU3007363

PLATE

SN: 117376-UP

1шт.

10

CU70645

PIN

SN: 117376-UP

1шт.

11

CU102957

PIN

SN: 117376-UP

1шт.

12

CU3019961

NUT

SN: 117376-UP

1шт.

13

CU3200754

STUD

SN: 117376-UP

1шт.

14

CU206217

STUD

SN: 117376-UP

1шт.

15

CU3200642

PLATE

SN: 117376-UP

1шт.

16

CU3200944

GASKET

SN: 117376-UP

1шт.

17

CU3007376

GASKET

SN: 117376-UP

1шт.

18

CUS-104

BOLT,(HEXAGON HEAD)

SN: .-UP

1шт.

18

0

BOLT,(12 POINT HEAD)

SN: 117376-.

1шт.

19

CU3003123

INSERT

SN: 117376-UP

1шт.

20

CUS-103

BOLT

SN: 117376-UP

1шт.

21

CUS-604

WASHER

SN: 117376-UP

1шт.

22

CU3007374

COVER

SN: 117376-UP

1шт.

23

CUS-120

BOLT,(HEXAGON HEAD)

SN: .-UP

4шт.

23

0

BOLT,(12 POINT HEAD)

SN: 117376-.

4шт.

24

CUS-604

WASHER

SN: 117376-UP

4шт.

25

CU127367

WASHER

SN: 117376-UP

4шт.

26

CU3016794

SEAL,OIL

SN: 117376-UP

1шт.

27

CU3016788

SEAL,OIL

SN: 117376-UP

1шт.

28

CU3016792

SEAL,OIL

SN: 117376-UP

1шт.

29

CU3017319

GASKET

SN: 117376-UP

1шт.

30

CU3007380

GASKET

SN: 117376-UP

1шт.

|$$35

MOUNTING PARTS

-1шт.

|$35

CUS-102-D

BOLT,(HEXAGON HEAD)

SN: .-UP

5шт.

|$36

0

BOLT,(12 POINT HEAD)

SN: 117376-.

5шт.

|$37

CUS-103-D

BOLT,(HEXAGON HEAD)

SN: .-UP

3шт.

|$38

0

BOLT,(12 POINT HEAD)

SN: 117376-.

3шт.

|$39

CUS-105

BOLT,(HEXAGON HEAD)

SN: .-UP

1шт.

|$40

0

BOLT,(12 POINT HEAD)

SN: 117376-.

1шт.

|$41

CUS-137

BOLT,(HEXAGON HEAD)

SN: .-UP

2шт.

|$42

0

BOLT,(12 POINT HEAD)

SN: 117376-.

2шт.

|$43

CUS-199-B

BOLT,(HEXAGON HEAD)

SN: .-UP

6шт.

|$44

0

BOLT,(12 POINT HEAD)

SN: 117376-.

6шт.

|$45

CUS-604

WASHER

SN: 117376-UP

20шт.

|$46

CUS-223

NUT

SN: 117376-UP

2шт.

|$47

CUS-602

WASHER

SN: 117376-UP

6шт.

|$48

CU127362

WASHER

SN: 117376-UP

12шт.

Выбрано товаров: 49