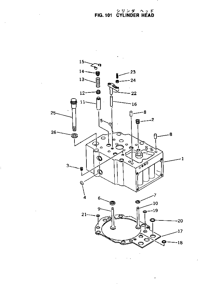
Запчасти Komatsu KT-1150-1A ГОЛОВКА ЦИЛИНДРОВ ГОЛОВКА ЦИЛИНДРОВ

Схема запчастей Komatsu KT-1150-1A - ГОЛОВКА ЦИЛИНДРОВ ГОЛОВКА ЦИЛИНДРОВ
FIT
1:1
100%

Артикул

Название

Примечание

Количество

|$0

CU3021692

CYLINDER HEAD A.

SN: 112887-UP

6шт.

|$1

CU3009138

CYLINDER HEAD A.

SN: 103040-112886

6шт.

|$2

CUAR-45240

CYLINDER HEAD A.

SN: 101153-103039

6шт.

1

0

HEAD,CYLINDER

SN: 103040-UP

1шт.

1

0

HEAD,CYLINDER

SN: 101153-103039

1шт.

2

CU3013257

PLUG

SN: ..-UP

1шт.

2

CU3008468

PLUG

SN: .-..

1шт.

2

02720-20810

PLUG

SN: 101153-.

1шт.

3

CU3002158

PLUG

SN: 103040-UP

1шт.

3

02720-20204

PLUG

SN: 101153-103039

1шт.

4

6720-11-1150

PLUG,EXPANSION

SN: 101153-UP

8шт.

5

6720-11-1160

PLUG,EXPANSION

SN: 101153-UP

2шт.

6

CU205093

INSERT

SN: 123700-UP

2шт.

6

CU3026296

INSERT

SN: 123700-UP

2шт.

6

CU205093

INSERT

SN: 101153-123699

4шт.

7

CU3009109

PLATE

SN: 103040-UP

2шт.

7

CU206363

PLATE

SN: 101153-103039

2шт.

8

6610-11-1410

PIN

SN: 101153-UP

2шт.

9

CU3024395

VALVE,EXHAUST

SN: .-UP

2шт.

9

CU3007225

VALVE,EXHAUST

SN: 103040-.

2шт.

9

CU206515

VALVE,EXHAUST

SN: 101153-103039

2шт.

10

CU207241

VALVE,INTAKE

SN: 101153-UP

2шт.

11

CU3021693

GUIDE (STD)

SN: 112887-UP

4шт.

11

CU3018818

GUIDE (STD)

SN: 101153-112886

4шт.

11

0

GUIDE (STD)

SN: 101153-112886

4шт.

11

CU3021694

GUIDE, 0.25MM (OS)

SN: 112887-UP

4шт.

11

CU3018819

GUIDE, 0.25MM (OS)

SN: 101153-112886

4шт.

11

CU3021695

GUIDE, 0.38MM (OS)

SN: 112887-UP

4шт.

11

CU3018820

GUIDE, 0.38MM (OS)

SN: 101153-112886

4шт.

12

CU3001663

GUIDE

SN: 103040-UP

4шт.

12

CU205095

GUIDE

SN: 101153-103039

4шт.

13

CU205208

SPRING

SN: 101153-UP

4шт.

14

CU205094

RETAINER

SN: 101153-UP

4шт.

15

CU205091

COLLET

SN: 101153-UP

8шт.

16

CU205169

GUIDE,CROSSHEAD

SN: 101153-UP

2шт.

|$35

CU3022340

GASKET ASS'Y

SN: .-UP

6шт.

|$36

0

GASKET ASS'Y

SN: 101153-.

6шт.

17

0

PLATE

SN: 101153-UP

1шт.

18

CU205858

GROMMET

SN: 101153-UP

1шт.

19

CU205852

GROMMET,OIL

SN: 101153-UP

1шт.

20

CU205855

GROMMET

SN: 101153-UP

3шт.

21

CU207448

GROMMET,WATER

SN: 101153-UP

4шт.

22

CU205121

CROSSHEAD

SN: 101153-UP

12шт.

23

CU147389

SCREW

SN: .-UP

12шт.

23

0

SCREW

SN: 101153-.

12шт.

24

CU203131

NUT

SN: 113641-UP

12шт.

24

0

NUT

SN: 101153-113640

12шт.

24

0

NUT

SN: 101153-113640

12шт.

25

CU3007238

BOLT

SN: 107470-UP

36шт.

25

CU205772

BOLT

SN: 101153-107469

36шт.

26

CU205059

WASHER

SN: 101153-UP

36шт.

|$$52

OVERSIZE PARTS

-1шт.

6

CU205945

SEAT, 0.13MM,INTAKE AND EXHAUST (STD)

SN: 123700-UP

12шт.

6

CU205945

SEAT, 0.13MM,INTAKE AND EXHAUST (STD)

SN: 101153-123699

24шт.

6

CU205981

SEAT, 0.25MM,INTAKE AND EXHAUST (STD)

SN: 123700-UP

12шт.

6

CU205981

SEAT, 0.25MM,INTAKE AND EXHAUST (STD)

SN: 101153-123699

24шт.

6

CU205982

SEAT, 0.50MM,INTAKE AND EXHAUST

SN: 123700-UP

12шт.

6

CU205982

SEAT, 0.50MM,INTAKE AND EXHAUST

SN: 101153-123699

24шт.

6

CU205983

SEAT, 0.75MM,INTAKE AND EXHAUST

SN: 123700-UP

12шт.

6

CU205983

SEAT, 0.75MM,INTAKE AND EXHAUST

SN: 101153-123699

24шт.

6

CU205984

SEAT, 1.00MM,INTAKE AND EXHAUST

SN: 123700-UP

12шт.

6

CU205984

SEAT, 1.00MM,INTAKE AND EXHAUST

SN: 101153-123699

24шт.

6

CU3031098

SEAT, 0.25MM,INTAKE

SN: 123700-UP

12шт.

6

CU3031099

SEAT, 0.50MM,INTAKE

SN: 123700-UP

12шт.

Выбрано товаров: 64