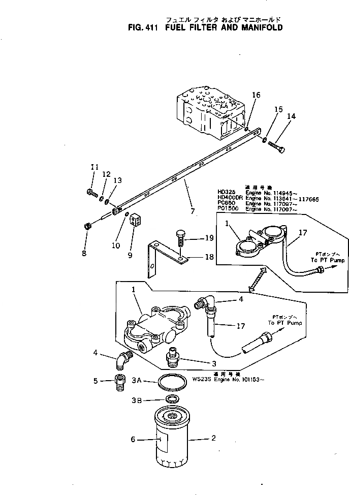
Запчасти Komatsu KT-1150-1B ТОПЛИВН. ФИЛЬТР. И КОЛЛЕКТОР ТОПЛИВН. СИСТЕМА

Схема запчастей Komatsu KT-1150-1B - ТОПЛИВН. ФИЛЬТР. И КОЛЛЕКТОР ТОПЛИВН. СИСТЕМА
FIT
1:1
100%

Артикул

Название

Примечание

Количество

|1

CUAR-13274

FUEL FILTER ASS'Y

SN: 114945-UP

1шт.

1

CU212013

HEAD

SN: 114945-UP

1шт.

2

CUFF-105-D

CARTRIDGE

SN: 114945-UP

2шт.

3A

CU250006

SEAL

SN: 114945-UP

2шт.

3B

CU251406

SEAL

SN: 114945-UP

2шт.

4

CU129859

ELBOW

SN: 114945-UP

2шт.

5

6721-71-9780

ADAPTER

SN: 114945-UP

1шт.

6

6721-81-1530

PLATE¤ CAUTION,(JAPANESE-ENGLISH)

SN: 114945-UP

1шт.

|6

6721-81-1630

PLATE,(ENGLISH-RUSSIAN)

SN: 114945-UP

1шт.

|6

6721-81-1430

PLATE¤ CAUTION,(ENGLISH)

SN: 114945-UP

1шт.

7

CU207441

MANIFOLD

SN: 114945-UP

1шт.

8

CU217631

PLUG

SN: .-UP

4шт.

|8

CUS-965-E

PLUG

SN: 114945-.

4шт.

9

CU207442

CONNECTION

SN: 114945-UP

1шт.

10

CU100478

O-RING

SN: 114945-UP

2шт.

11

02100-00632

BOLT

SN: 114945-UP

2шт.

12

CU128014

WASHER,SPRING

SN: 114945-UP

2шт.

13

CU128006

WASHER

SN: 114945-UP

2шт.

14

CU3001811

BOLT

SN: 114945-UP

12шт.

15

CU127018

WASHER

SN: 114945-UP

12шт.

16

CU3001340

O-RING

SN: 114945-UP

12шт.

17

CUAS1010800SS

HOSE

SN: 121232-UP

1шт.

|17

CUAS1007200SS

HOSE

SN: 114945-121231

1шт.

18

CU202040

BRACKET

SN: 114945-UP

1шт.

19

CUS-117

BOLT

SN: 114945-UP

1шт.

Выбрано товаров: 25