Запчасти Komatsu KT-1150-1B ТРУБОПРОВОД ВПУСКА ВОЗДУХА ГОЛОВКА ЦИЛИНДРОВ

Схема запчастей Komatsu KT-1150-1B - ТРУБОПРОВОД ВПУСКА ВОЗДУХА ГОЛОВКА ЦИЛИНДРОВ
FIT
1:1
100%

Артикул

Название

Примечание

Количество

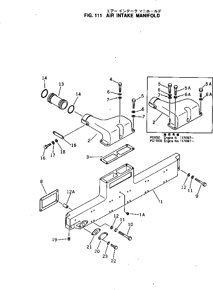
1

CU3010928

MANIFOLD,AIR INTAKE

SN: 114945-UP

1шт.

1A

CU3008466

PLUG

SN: ..-UP

2шт.

|1A

CUS-910

PLUG

SN: 114945-..

2шт.

2

CU300287

CONNECTION

SN: 114945-UP

1шт.

3

CU206279

GASKET

SN: 114945-UP

1шт.

4

CU3012478

BOLT

SN: ..-UP

1шт.

|4

CUS-105

BOLT

SN: 114945-..

1шт.

5

CU3012473

BOLT

SN: ..-UP

4шт.

|5

0

BOLT

SN: 114945-..

4шт.

6

02310-01224

WASHER,SPRING

SN: 114945-UP

5шт.

7

CU127362

WASHER

SN: 114945-UP

5шт.

8

CU206277

GASKET

SN: 114945-UP

6шт.

9

CU123204

BOLT

SN: 114945-UP

4шт.

10

CU137868

BOLT

SN: 114945-UP

21шт.

11

02310-01224

WASHER,SPRING

SN: 114945-UP

24шт.

12

CU127362

WASHER

SN: 114945-UP

24шт.

12A

CU3014304

RING

SN: 114945-UP

12шт.

13

CU207214

TUBE

SN: 114945-UP

1шт.

14

CU3023066

O-RING

SN: .-UP

2шт.

|14

0

O-RING

SN: 114945-.

2шт.

15

CU3001523

STRAP

SN: .-UP

2шт.

|15

CU207229

STRAP

SN: 114945-.

2шт.

16

CUS-107

BOLT

SN: 114945-UP

4шт.

17

CUS-605

WASHER,SPRING

SN: 114945-UP

4шт.

18

CU109557

WASHER

SN: 114945-UP

4шт.

19

CU156075

PLUG

SN: 114945-UP

1шт.

20

CU3011693

COVER

SN: 114945-UP

1шт.

21

CU164916

GASKET

SN: 114945-UP

1шт.

22

CUS-103

BOLT

SN: 114945-UP

2шт.

23

CUS-604

WASHER,SPRING

SN: 114945-UP

2шт.

Выбрано товаров: 30