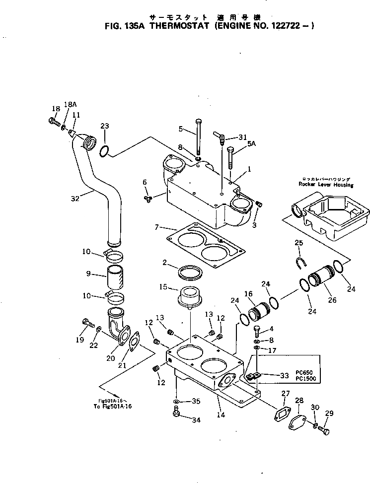
Запчасти Komatsu KT-1150-1E ТЕРМОСТАТ(№7-) ГОЛОВКА ЦИЛИНДРОВ

Схема запчастей Komatsu KT-1150-1E - ТЕРМОСТАТ(№7-) ГОЛОВКА ЦИЛИНДРОВ
FIT
1:1
100%

Артикул

Название

Примечание

Количество

|$0

CU3016721

HOUSING ASS'Y

SN: 122722-UP

1шт.

1

0

HOUSING

SN: 122722-UP

1шт.

2

CU186780

SEAL

SN: 122722-UP

2шт.

3

6721-91-2810

CONNECTOR

SN: .-UP

1шт.

3

CUS-1002-A

CONNECTOR

SN: 122722-.

1шт.

4

CU3012472

BOLT

SN: .-UP

3шт.

4

0

BOLT

SN: 122722-.

3шт.

5

CU3010597

BOLT

SN: .-UP

5шт.

5

0

BOLT

SN: 122722-.

5шт.

5A

CU3010596

BOLT

SN: 122722-UP

1шт.

6

CUS-962-E

COCK,DRAIN

SN: 122722-UP

1шт.

7

CU3010918

GASKET

SN: 122722-UP

1шт.

8

CUS-604

WASHER

SN: 122722-UP

8шт.

9

CU68378

HOSE

SN: 122722-UP

1шт.

10

CU43828

CLAMP

SN: 122722-UP

2шт.

11

CU3010689

CLAMP

SN: 122722-UP

1шт.

12

CU3008468

PLUG

SN: 122722-UP

4шт.

13

CU3008469

PLUG

SN: 122722-UP

2шт.

14

CU3200680

SUPPORT

SN: .-UP

1шт.

14

CU3010916

SUPPORT

SN: 122722-.

1шт.

15

600-421-6610

THERMOSTAT

SN: .-UP

2шт.

15

CU201737

THERMOSTAT

SN: 122722-.

2шт.

15

0

THERMOSTAT

SN: 122722-.

2шт.

16

CU207378

TUBE

SN: 122722-UP

1шт.

17

CU127362

WASHER

SN: 122722-UP

4шт.

18

CUS-107

BOLT

SN: 122722-UP

1шт.

18A

CUS-605

WASHER,SPRING

SN: 122722-UP

1шт.

19

CUS-103-D

BOLT

SN: .-UP

2шт.

19

0

BOLT

SN: 122722-.

2шт.

20

CU3010299

CONNECTOR

SN: 122722-UP

1шт.

21

CU195866

GASKET

SN: 122722-UP

1шт.

22

01602-00929

WASHER,SPRING

SN: 122722-UP

2шт.

23

CU70624

O-RING

SN: 122722-UP

1шт.

24

CU3028291

O-RING

SN: .-UP

10шт.

24

0

O-RING

SN: 122722-.

10шт.

25

CU205976

RING

SN: 122722-UP

5шт.

26

CU207233

TUBE

SN: 122722-UP

5шт.

27

CU207056

GASKET

SN: 122722-UP

1шт.

28

CU207077

COVER

SN: 122722-UP

1шт.

29

02010-20625

BOLT

SN: 122722-UP

2шт.

30

CUS-604

WASHER

SN: 122722-UP

1шт.

31

6672-71-8971

CONNECTOR

SN: .-UP

1шт.

31

0

CONNECTOR

SN: 122722-.

1шт.

32

CU3011224

TUBE

SN: 122722-UP

1шт.

33

300029

GUARD

SN: 122722-UP

1шт.

34

CUS-141

BOLT

SN: 122722-UP

2шт.

35

CU127362

WASHER

SN: 122722-UP

2шт.

Выбрано товаров: 47