Запчасти Komatsu KT-2300-1 ТОЛКАТЕЛЬ КЛАПАНА И КОЖУХ БЛОК ЦИЛИНДРОВ

Схема запчастей Komatsu KT-2300-1 - ТОЛКАТЕЛЬ КЛАПАНА И КОЖУХ БЛОК ЦИЛИНДРОВ
FIT
1:1
100%

Артикул

Название

Примечание

Количество

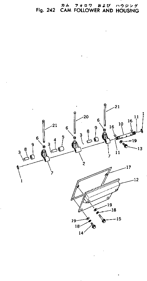
1

CU205439

RING

SN: 103559-UP

24шт.

|2

CU3028087

CAM FOLLOWER ASS'Y,INJECTOR

SN: 106926-UP

12шт.

|2

0

CAM FOLLOWER ASS'Y,INJECTOR

SN: 103559-106925

12шт.

2

0

FOLLOWER,CAM

SN: 103559-UP

1шт.

3

CU205433

WIRE

SN: 103559-UP

1шт.

4

CU205068

PIN

SN: 103559-UP

1шт.

5

CU3007120

ROLLER

SN: 103559-UP

1шт.

6

CU213559

SOCKET

SN: 106926-UP

1шт.

|6

0

SOCKET

SN: 103559-106925

1шт.

|7

CU3028088

CAM FOLLOWER ASS'Y,INTAKE AND EXHAUST

SN: .-UP

24шт.

|7

0

CAM FOLLOWER ASS'Y,INTAKE AND EXHAUST

SN: 103559-.

24шт.

7

0

LEVER,CAM

SN: 103559-UP

1шт.

7A

CU205483

WIRE

SN: 103559-UP

1шт.

8

CU205071

PIN

SN: 103559-UP

1шт.

9

CU3007121

ROLLER

SN: 103559-UP

1шт.

9A

CU213559

SOCKET

SN: .-UP

1шт.

|9A

0

SOCKET

SN: 103559-.

1шт.

|10

CUAR-10626

SHAFT ASS'Y

SN: 103559-UP

12шт.

10

CU205301

SHAFT

SN: 103559-UP

1шт.

11

CU205227

PLUG

SN: 103559-UP

2шт.

12

CU3009631

COVER

SN: 103559-UP

12шт.

13

CU3002886

BOLT

SN: 103559-UP

24шт.

14

CUS-112

BOLT

SN: .-UP

24шт.

|14

0

BOLT

SN: 103559-.

24шт.

15

CUS-126

BOLT

SN: .-UP

24шт.

|15

0

BOLT

SN: 103559-.

24шт.

16

CU3002993

PIN

SN: 103559-UP

24шт.

17

CU3008404

GASKET

SN: 103559-UP

12шт.

18

CUS-604

WASHER

SN: 103559-UP

48шт.

19

CU127362

WASHER

SN: 103559-UP

24шт.

20

CU3017961

ROD

SN: 103559-UP

12шт.

21

CU205492

ROD

SN: 103559-UP

24шт.

Выбрано товаров: 32