Запчасти Komatsu KT-2300-1 ГОЛОВКА ЦИЛИНДРОВ ГОЛОВКА ЦИЛИНДРОВ

Схема запчастей Komatsu KT-2300-1 - ГОЛОВКА ЦИЛИНДРОВ ГОЛОВКА ЦИЛИНДРОВ
FIT
1:1
100%

Артикул

Название

Примечание

Количество

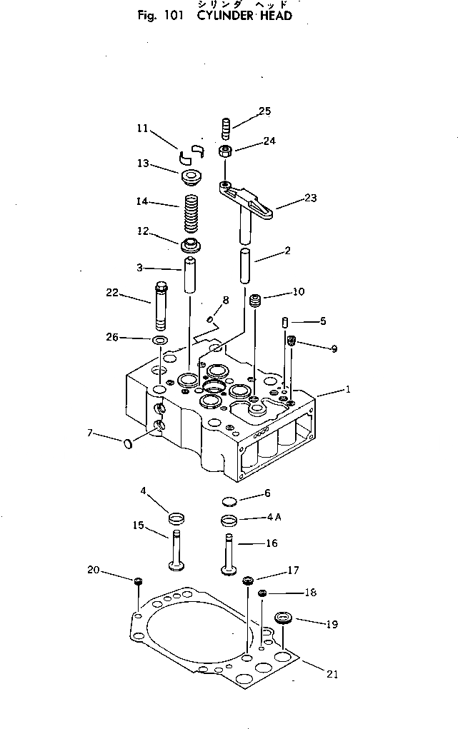
|1

CU3018868

CYLINDER HEAD ASS'Y,WITH VALVE

SN: 103559-UP

12шт.

|1

CU3018867

CYLINDER HEAD ASS'Y,LESS VALVE

SN: 103559-UP

12шт.

1

0

HEAD,CYLINDER

SN: 103559-UP

1шт.

2

CU205169

GUIDE

SN: 103559-UP

2шт.

3

CU3018818

GUIDE

SN: 103559-UP

4шт.

4

CU205093

INSERT

SN: 103559-UP

2шт.

4A

CU3026296

INSERT

SN: 105467-UP

2шт.

|4A

CU205093

INSERT

SN: 103559-105466

2шт.

5

CU68445

PIN

SN: 103559-UP

2шт.

6

CU3009109

PLATE

SN: 103559-UP

2шт.

7

CU205401

PLUG

SN: 103559-UP

8шт.

8

CU206224

PLUG

SN: 103559-UP

2шт.

9

CU3002158

PLUG

SN: 103559-UP

1шт.

10

CU3013257

PLUG

SN: 103559-UP

1шт.

11

CU205091

COLLET

SN: 103559-UP

8шт.

12

CU3001663

GUIDE

SN: 103559-UP

4шт.

13

CU205094

RETAINER

SN: 103559-UP

4шт.

14

CU205208

SPRING

SN: 103559-UP

4шт.

15

CU3024395

VALVE,EXHAUST

SN: 104434-UP

2шт.

|15

0

VALVE,EXHAUST

SN: 103559-104433

2шт.

16

CU207241

VALVE,INTAKE

SN: 103559-UP

2шт.

|17

CU3022240

GASKET ASS'Y

SN: .-UP

12шт.

|17

0

GASKET ASS'Y

SN: 103559-.

12шт.

17

CU207448

GROMMET

SN: 103559-UP

4шт.

18

CU205852

GROMMET

SN: 103559-UP

1шт.

19

CU205855

GROMMET

SN: 103559-UP

3шт.

20

CU205858

GROMMET

SN: 103559-UP

1шт.

21

CU205479

PLATE

SN: 103559-UP

1шт.

22

CU3007238

BOLT

SN: 103559-UP

72шт.

23

CU3033687

CROSSHEAD

SN: 107905-UP

24шт.

|23

0

CROSSHEAD

SN: 103559-107904

24шт.

24

CU203131

NUT

SN: 103559-UP

24шт.

25

CU3032697

SCREW

SN: 107905-UP

24шт.

|25

0

SCREW

SN: 103559-107904

24шт.

26

CU205059

WASHER

SN: 103559-UP

72шт.

Выбрано товаров: 35