Запчасти Komatsu KT-2300-1 HAND ОТВЕРСТИЕ COVER(№77-9) БЛОК ЦИЛИНДРОВ

Схема запчастей Komatsu KT-2300-1 - HAND ОТВЕРСТИЕ COVER(№77-9) БЛОК ЦИЛИНДРОВ
FIT
1:1
100%

Артикул

Название

Примечание

Количество

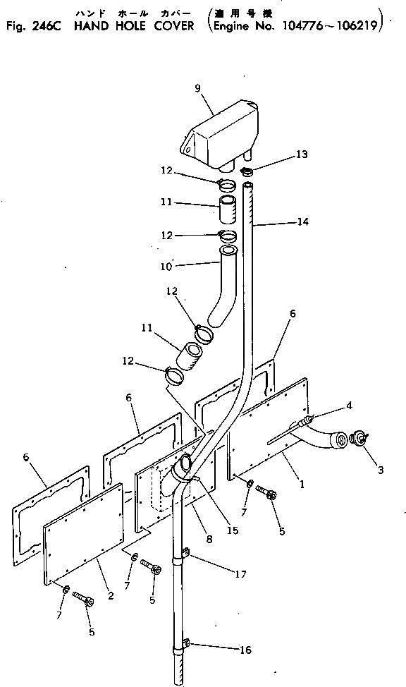
1

CU3177063

COVER

SN: .-106219

1шт.

|1

0

COVER

SN: 103559-.

1шт.

2

CU3175855

COVER

SN: .-106219

3шт.

|2

0

COVER

SN: 104776-.

3шт.

3

CU107981

CAP

SN: 103559-106219

1шт.

4

CU206571

GAUGE

SN: 103559-106219

1шт.

5

CUS-112

BOLT

SN: .-106219

72шт.

|5

0

BOLT

SN: 103559-.

72шт.

6

CU3175856

GASKET

SN: 103559-106219

6шт.

7

CUS-604

WASHER

SN: 103559-106219

72шт.

8

CU3021438

COVER

SN: 104776-106219

2шт.

9

CU3021436

BREATHER

SN: 104776-106219

2шт.

10

CU3177039

TUBE

SN: .-106219

2шт.

|10

CU3021437

TUBE

SN: 104776-.

2шт.

11

CU3026395

HOSE

SN: 104776-106219

4шт.

12

CU43828-C

CLAMP

SN: 104776-106219

8шт.

|12

0

CLAMP

SN: 104776-106219

8шт.

13

07281-00359

CLAMP

SN: 104776-106219

2шт.

14

07287-02612

HOSE

SN: 104776-106219

2шт.

15

600-714-1960

BAND

SN: 104776-106219

2шт.

16

6710-21-7640

CLIP

SN: 104776-106219

2шт.

17

6600-01-5590

CLAMP

SN: 104776-106219

2шт.

Выбрано товаров: 22