Запчасти Komatsu KT-2300-1 HAND ОТВЕРСТИЕ КРЫШКА(ПРАВ.)(№-7) БЛОК ЦИЛИНДРОВ

Схема запчастей Komatsu KT-2300-1 - HAND ОТВЕРСТИЕ КРЫШКА(ПРАВ.)(№-7) БЛОК ЦИЛИНДРОВ
FIT
1:1
100%

Артикул

Название

Примечание

Количество

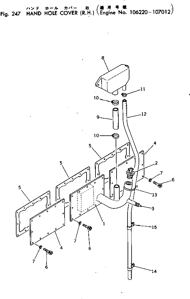
1

CU3177076

COVER

SN: 106220-107012

1шт.

2

CU107981

CAP

SN: 106220-@

1шт.

3

CU3029190

GAUGE

SN: 106220-107012

1шт.

4

CU3175855

COVER

SN: .-@

2шт.

|4

0

COVER

SN: 106220-.

2шт.

5

CU3175856

GASKET

SN: 106220-107012

3шт.

6

CUS-112

BOLT

SN: 106220-@

36шт.

7

CUS-604

WASHER

SN: 106220-@

36шт.

8

CU3021436

BREATHER

SN: 106220-@

1шт.

9

CU3177020

HOSE

SN: 106220-107012

1шт.

10

CU43828-C

CLAMP

SN: 106220-@

2шт.

11

07281-00359

CLAMP

SN: 106220-@

1шт.

12

07287-02612

HOSE

SN: 106220-@

1шт.

13

600-714-1960

BAND

SN: 106220-@

1шт.

14

6710-21-7640

CLIP

SN: 106220-@

1шт.

15

6600-01-5590

CLAMP

SN: 106220-@

1шт.

Выбрано товаров: 16