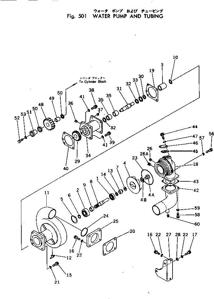
Запчасти Komatsu KT-2300-1 ВОДЯНАЯ ПОМПА И TUBING ОХЛАЖД-Е И ЭЛЕКТРИКАS

Схема запчастей Komatsu KT-2300-1 - ВОДЯНАЯ ПОМПА И TUBING ОХЛАЖД-Е И ЭЛЕКТРИКАS
FIT
1:1
100%

Артикул

Название

Примечание

Количество

|1

CU3030903

WATER PUMP ASS'Y

SN: 106926-UP

1шт.

|1

CU3018899

WATER PUMP ASS'Y

SN: 103559-106925

1шт.

1

CUS-16069

BEARING

SN: 106960-UP

1шт.

|1

CUS-16067

BEARING

SN: 103559-106959

1шт.

2

CUS-16069

BEARING

SN: 106960-UP

1шт.

|2

CUS-16067

BEARING

SN: 103559-106959

1шт.

3

CU206195

COUPLING

SN: 103559-UP

1шт.

4

CU3001711

IMPELLER

SN: 103559-UP

1шт.

4A

CU165006

BOLT

SN: 103559-UP

1шт.

4B

CU3175262

KEY

SN: 103559-UP

1шт.

5

CU70183

RING

SN: 103559-UP

1шт.

6

CU3175573

RING

SN: 103559-UP

1шт.

7

CU3004870

SEAT

SN: 103559-UP

1шт.

8

CU3175527

SHAFT

SN: 103559-UP

1шт.

9

CU3030847

SPACER

SN: 106960-UP

1шт.

|9

CU3175570

SPACER

SN: 103559-106959

1шт.

10

CU206196

WIRE

SN: 103559-UP

1шт.

11

CU3030489

BODY

SN: 106926-UP

1шт.

|11

CU3001713

BODY

SN: 103559-106925

1шт.

12

CUS-962-E

COCK

SN: 103559-UP

1шт.

13

CU206198

SEAL

SN: 103559-UP

1шт.

14

CU3004869

SEAL

SN: 103559-UP

1шт.

15

CU103009

BOLT

SN: 103559-UP

4шт.

16

CU108707

BOLT

SN: 103559-UP

2шт.

|16

CU199919

BOLT

SN: 103559-UP

4шт.

17

CUS-103-D

BOLT

SN: .-UP

4шт.

|17

0

BOLT

SN: 103559-.

4шт.

18

CU3001712

CONNECTION

SN: 103559-UP

1шт.

19

CU206193

GASKET

SN: 103559-UP

1шт.

20

CU206455

GASKET

SN: 103559-UP

1шт.

21

CUS-610

WASHER

SN: 104978-UP

4шт.

|21

CU135783

WASHER

SN: 103559-104977

4шт.

22

CUS-604

WASHER

SN: 103559-UP

8шт.

23

CU206457

O-RING

SN: 103559-UP

1шт.

24

CU3007512

O-RING

SN: 103559-UP

1шт.

25

CU3008494

PLATE

SN: 103559-UP

1шт.

26

CU3008468

PLUG

SN: 103559-UP

1шт.

26A

CUS-907A

PLUG

SN: 103559-UP

1шт.

27

CU3175857

SUPPORT

SN: 103559-UP

1шт.

28

CUS-602

WASHER

SN: 103559-UP

1шт.

|29

CU3024194

SUPPORT ASS'Y

SN: 103559-UP

1шт.

29

CU207251

GEAR

SN: 103559-UP

1шт.

30

CU205166

RING

SN: 103559-UP

1шт.

|31

CU3030302

SHAFT

SN: 105402-UP

1шт.

|31

CU3175222

SHAFT ASS'Y

SN: 103559-105401

1шт.

31

0

SHAFT

SN: 103559-105401

1шт.

|31

CU68193

PLUG

SN: 103559-105401

1шт.

32

CU116388

WASHER

SN: 103559-UP

2шт.

33

CU205168

WASHER

SN: 103559-UP

1шт.

|34

CU3024195

SUPPORT ASS'Y

SN: 103559-UP

1шт.

34

0

SUPPORT

SN: 103559-UP

1шт.

35

CU205156

BUSHING

SN: 103559-UP

2шт.

36

CU70295

PLUG

SN: 106410-UP

1шт.

|36

CUS-965-E

PLUG

SN: 103559-106409

1шт.

37

CU206742

PLUG

SN: 103559-UP

1шт.

38

CUS-162-A

BOLT

SN: 103559-UP

3шт.

39

CU103009

BOLT

SN: 103559-UP

1шт.

40

CU206416

GASKET

SN: 103559-UP

1шт.

41

CUS-610

WASHER

SN: 104978-UP

4шт.

|41

0

WASHER

SN: 103559-104977

4шт.

42

6725-61-6110

TUBE

SN: 103559-UP

1шт.

43

CU207540

GASKET

SN: 103559-UP

1шт.

44

CUS-112

BOLT

SN: 103559-UP

2шт.

45

CU206460

GASKET

SN: 103559-UP

1шт.

46

6725-61-6520

COVER

SN: 103559-UP

1шт.

47

CUS-606-A

WASHER

SN: 103559-UP

2шт.

|48

CU3004682

IDLER GEAR ASS'Y

SN: 103559-UP

1шт.

48

0

GEAR

SN: 103559-UP

1шт.

49

CU3004686

BUSHING

SN: 103559-UP

1шт.

50

CU3026556

BEARING

SN: 104214-UP

2шт.

|50

0

WASHER

SN: 103559-104213

2шт.

51

CU3033852

SHAFT

SN: 104214-UP

1шт.

|51

CU206713

SHAFT

SN: 103559-104213

1шт.

52

CU180261

BOLT

SN: 103559-UP

1шт.

53

CU206714

WASHER

SN: 103559-UP

1шт.

56

CUS-103

BOLT

SN: 103559-UP

4шт.

57

CUS-604

WASHER

SN: 103559-UP

4шт.

58

02010-70638

BOLT

SN: 103559-UP

4шт.

59

01602-00929

WASHER

SN: 103559-UP

4шт.

60

02720-20810

PLUG

SN: 103559-UP

4шт.

Выбрано товаров: 80