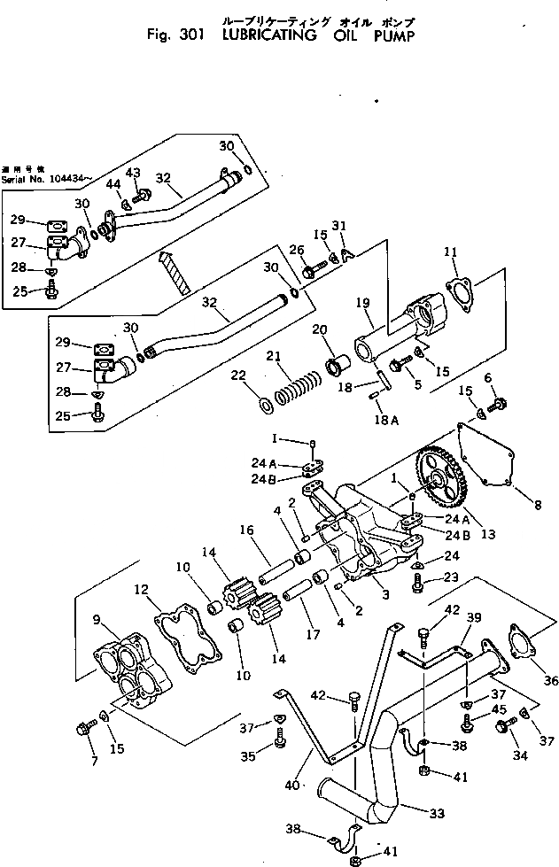
Запчасти Komatsu KT-2300-1 СМАЗЫВ. НАСОС СИСТЕМА СМАЗКИ МАСЛ. СИСТЕМА

Схема запчастей Komatsu KT-2300-1 - СМАЗЫВ. НАСОС СИСТЕМА СМАЗКИ МАСЛ. СИСТЕМА
FIT
1:1
100%

Артикул

Название

Примечание

Количество

|$0

CUAR-12388

PUMP ASS'Y

SN: 103559-UP

1шт.

|$1

CUAR-11463

BODY ASS'Y

SN: 103559-UP

1шт.

1

CU69519

PIN

SN: 103559-UP

2шт.

2

CU107948

PIN

SN: 103559-UP

2шт.

|$4

CUAR-11462

BODY ASS'Y

SN: 103559-UP

1шт.

3

0

BODY

SN: 103559-UP

1шт.

4

CU205548

BUSHING

SN: 103559-UP

2шт.

5

CUS-199-A

BOLT

SN: 103559-UP

2шт.

6

CUS-117

BOLT

SN: 103559-UP

5шт.

7

CUS-174-B

BOLT

SN: 103559-UP

2шт.

8

CU205546

COVER

SN: 103559-UP

1шт.

|$11

CRAR-11459

COVER ASS'Y

SN: 103559-UP

1шт.

9

0

COVER

SN: 103559-UP

1шт.

10

CU205548

BUSHING

SN: 103559-UP

2шт.

11

CU206177

GASKET

SN: 103559-UP

1шт.

12

CU205532

GASKET

SN: 103559-UP

1шт.

13

CU206756

GEAR

SN: 103559-UP

1шт.

14

CU205547

GEAR

SN: 103559-UP

2шт.

15

CU109319

PLATE

SN: 103559-UP

10шт.

16

CU205544

SHAFT

SN: 103559-UP

1шт.

17

CU205545

SHAFT

SN: 103559-UP

1шт.

|$21

CUAR-11475

VALVE ASS'Y

SN: 103559-UP

1шт.

18

CU3001719

PIN

SN: 103559-UP

1шт.

18A

CU107695

PIN

SN: 103559-UP

1шт.

19

CU3001718

HOUSING

SN: 103559-UP

1шт.

20

CU3021618

PLUNGER

SN: 103559-UP

1шт.

21

CU205607

SPRING

SN: 103559-UP

1шт.

22

CU3177093

WASHER

SN: .-UP

1шт.

22

0

WASHER

SN: 103559-.

1шт.

23

CUS-113

BOLT

SN: 103559-UP

4шт.

24

CU149134

PLATE

SN: 103559-UP

4шт.

24A

CU3026312

SHIM, 0.13MM

SN: 103559-UP

2шт.

24B

CU3026313

SHIM, 0.25MM

SN: 103559-UP

2шт.

25

CUS-121-B

BOLT

SN: 103559-UP

2шт.

26

CUS-197

BOLT

SN: 103559-UP

1шт.

27

CU3026700

CONNECTION

SN: 104434-UP

1шт.

27

CU3175265

CONNECTION

SN: 103559-104433

1шт.

28

CU151355

PLATE

SN: 103559-UP

2шт.

29

CU206179

GASKET

SN: 103559-UP

1шт.

30

CU3175244

O-RING

SN: 106926-UP

2шт.

30

0

O-RING

SN: 103559-106925

2шт.

31

CU3175291

RETAINER

SN: 103559-.

1шт.

32

CU3026705

TUBE

SN: 104434-UP

1шт.

32

CU3175299

TUBE

SN: 103559-104433

1шт.

33

CU3175658

TUBE

SN: 104434-UP

1шт.

33

CU3002344

TUBE

SN: 103559-104433

1шт.

34

CUS-104

BOLT

SN: 103559-UP

3шт.

35

CUS-109

BOLT

SN: 103559-UP

3шт.

36

CU206013

GASKET

SN: 103559-UP

1шт.

37

CU109319

PLATE

SN: 103938-UP

6шт.

37

0

PLATE

SN: 103559-103937

6шт.

38

CU3002350

BRACKET

SN: 103559-UP

2шт.

39

CU3002351

BRACKET

SN: 103559-UP

1шт.

40

CU3004318

BRACKET

SN: 103559-UP

1шт.

41

CU3175239

NUT

SN: 103559-UP

4шт.

42

CU108707

BOLT

SN: 103559-UP

4шт.

43

CUS-197

BOLT

SN: .-UP

2шт.

44

CU68908

PLATE

SN: .-UP

2шт.

45

CUS-172

BOLT

SN: 103559-UP

1шт.

Выбрано товаров: 59