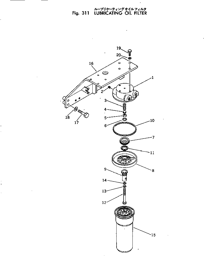
Запчасти Komatsu N-855-1 МАСЛ. ФИЛЬТР СИСТЕМА СМАЗКИ МАСЛ. СИСТЕМА

Схема запчастей Komatsu N-855-1 - МАСЛ. ФИЛЬТР СИСТЕМА СМАЗКИ МАСЛ. СИСТЕМА
FIT
1:1
100%

Артикул

Название

Примечание

Количество

|$0

6712-51-4300

OIL FILTER ASS'Y

SN: 162054-UP

1шт.

|$1

6712-51-4030

HEAD ASS'Y

SN: 162054-UP

1шт.

1

6712-51-4110

HEAD

SN: 162054-UP

1шт.

2

02720-20607

PLUG

SN: 162054-UP

2шт.

3

6712-51-4350

SPRING

SN: 162054-UP

1шт.

4

6712-51-4920

DISC

SN: 162054-UP

1шт.

5

6710-51-4910

SEAT

SN: 162054-UP

1шт.

6

6712-51-4930

RING,SNAP

SN: 162054-UP

1шт.

7

6712-51-4120

ADAPTER

SN: 162054-UP

1шт.

|$9

6710-51-4840

ADAPTER ASS'Y

SN: 162054-UP

1шт.

8

6710-51-4850

ADAPTER

SN: 162054-UP

1шт.

9

6710-51-4860

INSERT

SN: 162054-UP

1шт.

10

6710-51-4810

RING,SEAL

SN: 162054-UP

1шт.

11

6710-51-4820

RING

SN: 162054-UP

1шт.

12

02031-71021

BOLT

SN: 162054-UP

1шт.

13

01602-01648

WASHER

SN: 162054-UP

1шт.

14

01641-01626

WASHER

SN: 162054-UP

1шт.

15

600-211-1230

CARTRIDGE

SN: 162054-UP

1шт.

16

6712-21-6532

BRACKET

SN: 162054-UP

1шт.

17

02030-70964

BOLT

SN: 162054-UP

6шт.

18

02310-11836

WASHER

SN: 162054-UP

6шт.

19

02010-70732

BOLT

SN: 162054-UP

4шт.

20

01602-01134

WASHER

SN: 162054-UP

4шт.

Выбрано товаров: 0