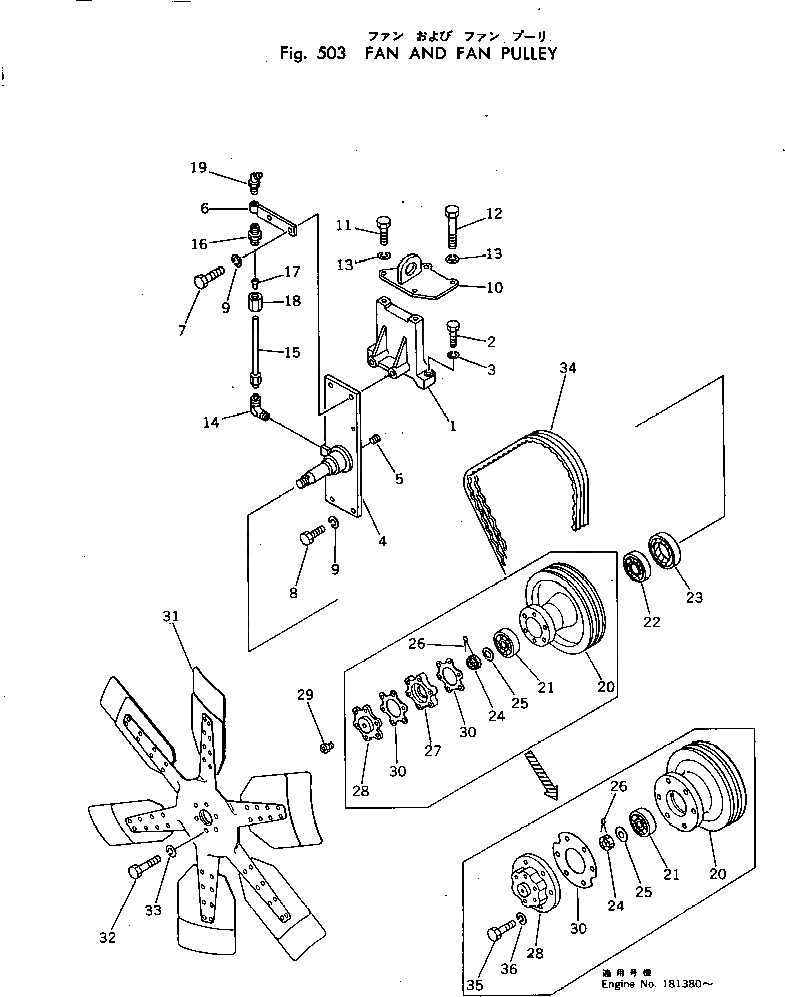
Запчасти Komatsu N-855-1 ВЕНТИЛЯТОР И ШКИВ ВЕНТИЛЯТОРА ОХЛАЖД-Е И ЭЛЕКТРИКАS

Схема запчастей Komatsu N-855-1 - ВЕНТИЛЯТОР И ШКИВ ВЕНТИЛЯТОРА ОХЛАЖД-Е И ЭЛЕКТРИКАS
FIT
1:1
100%

Артикул

Название

Примечание

Количество

1

6711-61-1210

BRACKET

SN: 162054-UP

1шт.

2

02030-70851

BOLT

SN: 162054-UP

2шт.

3

01602-01338

WASHER

SN: 162054-UP

2шт.

4

6711-61-2140

SHAFT

SN: 181380-UP

1шт.

|4

6711-61-2121

SHAFT

SN: 162054-181379

1шт.

5

07043-00108

PLUG

SN: 162054-UP

1шт.

6

6712-61-2910

BRACKET

SN: 162054-UP

1шт.

7

01010-31455

BOLT

SN: 181380-UP

2шт.

|7

01010-31445

BOLT

SN: 162054-181379

2шт.

8

01010-31450

BOLT

SN: 181380-UP

2шт.

|8

01010-31435

BOLT

SN: 162054-181379

2шт.

9

01602-01442

WASHER

SN: 162054-UP

4шт.

10

6711-61-2221

BRACKET

SN: 162054-UP

1шт.

11

01010-31230

BOLT

SN: 162054-UP

2шт.

12

02011-20802

BOLT

SN: 162054-UP

2шт.

13

01602-01236

WASHER

SN: 162054-UP

4шт.

14

07834-00410

ELBOW

SN: 162054-UP

1шт.

15

07823-00402

TUBE

SN: 162054-UP

1шт.

16

07836-00410

CONNECTOR

SN: 162054-UP

1шт.

17

07831-00411

SLEEVE

SN: 162054-UP

2шт.

18

07833-00410

NUT

SN: 162054-UP

2шт.

19

07020-00675

FITTING,GREASE

SN: 162054-UP

1шт.

|20

6657-61-2021

PULLEY ASS'Y

SN: 162054-UP

1шт.

20

6711-61-2250

PULLEY

SN: 181380-UP

1шт.

|20

6667-61-2111

PULLEY

SN: 162054-181379

1шт.

21

06002-30209

BEARING

SN: 181380-UP

1шт.

|21

06002-30206

BEARING

SN: 162054-181379

1шт.

22

06002-30210

BEARING

SN: 181380-UP

1шт.

|22

06002-30207

BEARING

SN: 162054-181379

1шт.

23

07011-00070

SEAL,OIL

SN: 181380-UP

1шт.

|23

07010-00052

SEAL,OIL

SN: 162054-181379

1шт.

24

6710-61-1610

NUT

SN: 181380-UP

1шт.

|24

6610-61-2350

NUT

SN: 162054-181379

1шт.

25

6710-61-1620

WASHER

SN: 181380-UP

1шт.

|25

6671-61-2360

WASHER

SN: 162054-181379

1шт.

26

04050-05045

PIN,COTTER

SN: 181380-UP

1шт.

|26

6600-01-3420

PIN,COTTER

SN: 162054-181379

1шт.

27

6657-62-2431

SPACER

SN: 162054-181379

1шт.

28

6710-61-2460

SPACER

SN: 181380-UP

1шт.

|28

6631-61-2411

SPACER

SN: 162054-181339

1шт.

29

07029-00000

VALVE

SN: 162054-UP

1шт.

30

6710-61-2430

GASKET

SN: 181380-UP

1шт.

|30

6671-61-2420

GASKET

SN: 162054-181379

2шт.

31

600-635-0900

FAN

SN: 168337-UP

1шт.

|31

600-615-0910

FAN

SN: 162054-168336

1шт.

32

02010-70632

BOLT

SN: 181380-UP

6шт.

|32

02010-70676

BOLT

SN: 162054-168379

6шт.

33

01602-00929

WASHER

SN: 162054-UP

6шт.

34

04121-22258

V-BELT SET

SN: 162054-UP

1шт.

35

02010-70844

BOLT

SN: 181380-UP

6шт.

36

01602-01338

WASHER

SN: 181380-UP

6шт.

Выбрано товаров: 51