Запчасти Komatsu N14 МАСЛ. ЩУП ДВИГАТЕЛЬ

Схема запчастей Komatsu N14 - МАСЛ. ЩУП ДВИГАТЕЛЬ
FIT
1:1
100%

Артикул

Название

Примечание

Количество

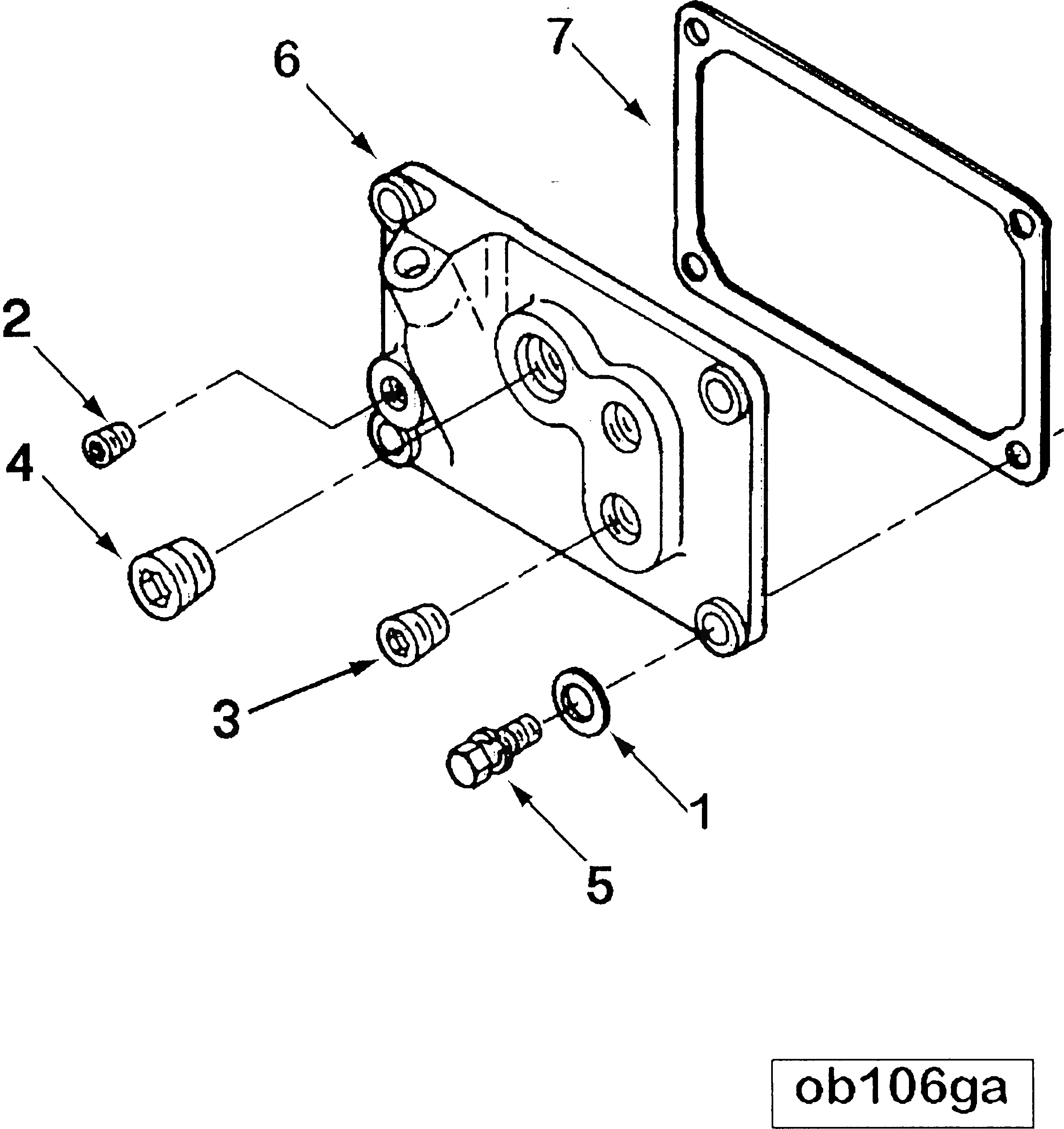
1

CUS-602

WASHER

SN: 1-UP

4шт.

2

CU3008466

PLUG

SN: 1-UP

1шт.

3

CU3008468

PLUG

SN: 1-UP

2шт.

4

CU3008469

PLUG

SN: 1-UP

1шт.

5

CU3010595

BOLT

SN: 1-UP

4шт.

6

CU3057476

COVER

SN: 1-UP

1шт.

7

CU3068466

GASKET

SN: 1-UP

1шт.

Выбрано товаров: 0