Запчасти Komatsu NH-220-CI-1E - -

Схема запчастей Komatsu NH-220-CI-1E - - -
FIT
1:1
100%

Артикул

Название

Примечание

Количество

|1

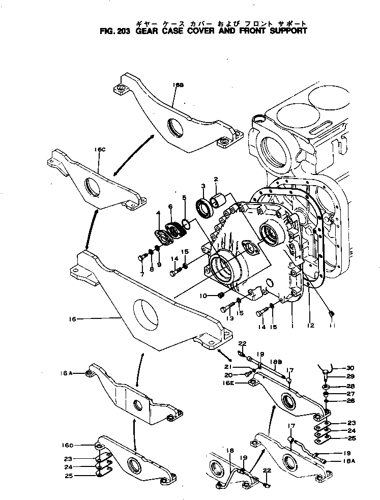
6643-21-3011

COVER

SN: 41227-UP

1шт.

|1

0

COVER

SN: 18554-41226

1шт.

1

0

SN: 41227-UP

1шт.

|1

0

SN: 18554-41226

1шт.

2

6610-21-3120

BUSHING

SN: 18554-UP

1шт.

3

6610-21-3511

SEAL

SN: 18554-UP

1шт.

4

6620-21-3210

PLATE

SN: 18554-UP

1шт.

5

6620-21-3240

O-RING

SN: 18554-UP

1шт.

6

6620-21-3040

THRUST WASHER

SN: 18554-UP

1шт.

|6

6620-21-3310

SHIM

SN: 18554-UP

4шт.

|6

6620-21-3320

SHIM

SN: 18554-UP

4шт.

|6

6620-21-3330

SHIM

SN: 18554-UP

4шт.

7

02010-20619

BOLT

SN: 18554-UP

2шт.

8

02310-11224

WASHER

SN: 18554-UP

2шт.

9

02300-11320

WASHER

SN: 18554-UP

2шт.

10

02720-20608

PLUG

SN: 18554-UP

1шт.

11

02720-20204

PLUG

SN: 18554-UP

1шт.

12

6685-21-3810

GASKET

SN: .-UP

1шт.

|12

0

GASKET

SN: 18554-.

1шт.

13

02030-20764

BOLT

SN: 18554-UP

1шт.

14

02030-20751

BOLT

SN: 18554-UP

15шт.

15

02310-11428

WASHER

SN: 18554-UP

16шт.

16C

6631-22-3712

SUPPORT

SN: 23874-UP

1шт.

|16C

0

SUPPORT

SN: 18560-23873

1шт.

|16C

6631-22-3710

SUPPORT

SN: 18554-18559

1шт.

Выбрано товаров: 25