Запчасти Komatsu NH-220-CI-1H СИСТЕМА СМАЗКИ МАСЛ. ПОЛН.ПОТОК ФИЛЬТР. И КРЕПЛЕНИЕ СИСТЕМА СМАЗКИ МАСЛ. СИСТЕМА

Схема запчастей Komatsu NH-220-CI-1H - СИСТЕМА СМАЗКИ МАСЛ. ПОЛН.ПОТОК ФИЛЬТР. И КРЕПЛЕНИЕ СИСТЕМА СМАЗКИ МАСЛ. СИСТЕМА
FIT
1:1
100%

Артикул

Название

Примечание

Количество

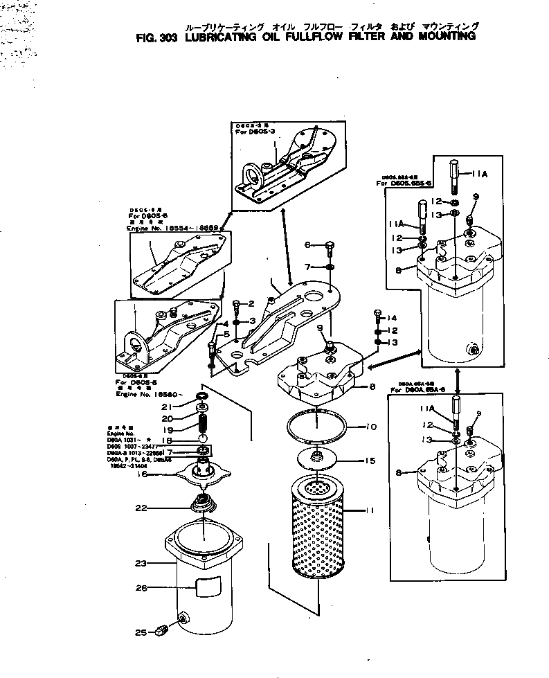
1

6693-22-6520

BRACKET,FILTER

SN: 40447-UP

1шт.

2

02011-20802

BOLT

SN: 40447-UP

3шт.

3

02310-11632

WASHER,SPRING

SN: 40447-UP

3шт.

4

01050-31230

BOLT

SN: 40447-UP

3шт.

5

01602-01236

WASHER,SPRING

SN: 40447-UP

3шт.

6

6610-81-8150

BOLT

SN: 40447-UP

4шт.

7

01602-01236

WASHER,SPRING

SN: 40447-UP

4шт.

|$7

6631-52-4001

OIL FILTER ASS'Y

SN: 40447-UP

1шт.

8

6610-51-4110

HEAD,FILTER

SN: 40447-UP

1шт.

9

02720-20608

PLUG

SN: 40447-UP

1шт.

|$10

6610-50-5100

ELEMENT ASS'Y

SN: 40447-UP

1шт.

10

6610-51-4810

GASKET

SN: 40447-UP

1шт.

11

0

ELEMENT

SN: 40447-UP

1шт.

11A

6631-51-4590

BOLT

SN: 40447-UP

2шт.

12

02310-11428

WASHER,SPRING

SN: 40447-UP

4шт.

13

02300-11520

WASHER

SN: 40447-UP

4шт.

14

02010-20751

BOLT

SN: 40447-UP

2шт.

15

6610-51-4130

RETAINER,UPPER

SN: 40447-UP

1шт.

|$18

6610-51-4302

RELIEF VALVE ASS'Y

SN: 40447-UP

1шт.

16

6610-51-4312

RETAINER,LOWER

SN: 40447-UP

1шт.

18

6610-51-4340

BALL

SN: 40447-UP

1шт.

19

6610-51-4351

SPRING

SN: 40447-UP

1шт.

20

6610-51-4360

RETAINER,SPRING

SN: 40447-UP

1шт.

21

6610-51-4331

RING,SNAP

SN: 40447-UP

1шт.

22

6610-51-4510

SPRING,SHOCK

SN: 40447-UP

1шт.

23

6610-51-4200

CASE,FILTER

SN: 40447-UP

1шт.

25

6610-51-4520

PLUG,DRAIN

SN: 40447-UP

1шт.

26

09636-00120

PLATE, INSTRUCTION

SN: 40447-UP

1шт.

Выбрано товаров: 28