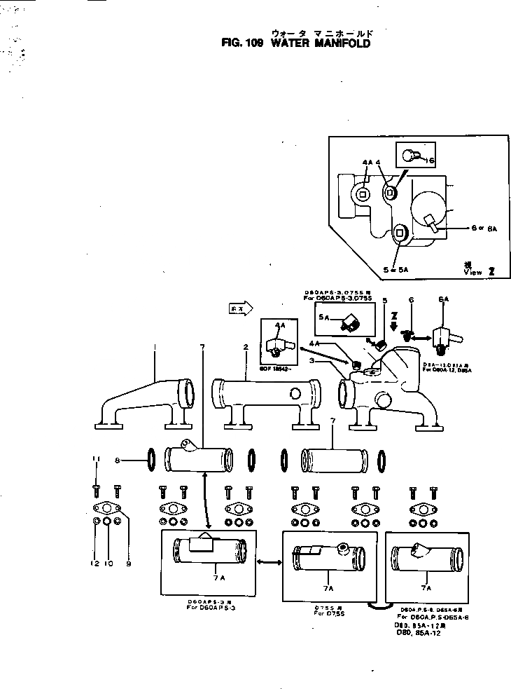
Запчасти Komatsu NH-220-CI-1H ВОДЯНОЙ КОЛЛЕКТОР ГОЛОВКА ЦИЛИНДРОВ

Схема запчастей Komatsu NH-220-CI-1H - ВОДЯНОЙ КОЛЛЕКТОР ГОЛОВКА ЦИЛИНДРОВ
FIT
1:1
100%

Артикул

Название

Примечание

Количество

1

6610-11-6131

MANIFOLD,WATER, REAR

SN: 40447-UP

1шт.

2

6610-11-6121

MANIFOLD,WATER, CENTER

SN: 40447-UP

1шт.

3

6610-11-6111

MANIFOLD,WATER, FRONT

SN: 40447-UP

1шт.

4

02720-20810

PLUG

SN: 40447-UP

1шт.

4A

6631-11-6231

ELBOW

SN: .-UP

1шт.

4A

02720-20810

PLUG

SN: 40447-.

1шт.

5

02720-21213

PLUG

SN: 40447-UP

1шт.

6

02720-20204

PLUG

SN: 40447-UP

1шт.

7

6610-11-6140

COUPLING

SN: 40447-UP

1шт.

7A

6631-11-6140

COUPLING

SN: 40447-UP

1шт.

8

02893-05043

O-RING (K2)

SN: 40447-UP

4шт.

|$11

6610-11-6080

GASKET ASS'Y,WATER MANIFOLD (K2)

SN: 40447-UP

6шт.

9

6610-11-6810

PLATE,RETAINING (K2)

SN: 40447-UP

1шт.

10

6610-11-6820

RING,SEAL (K2)

SN: 40447-UP

1шт.

11

02030-30522

BOLT

SN: 40447-UP

12шт.

12

02310-11020

WASHER,SPRING

SN: 40447-UP

12шт.

13

6672-12-6290

PLUG

SN: 40447-UP

1шт.

14

07003-01621

GASKET

SN: 40447-UP

1шт.

Выбрано товаров: 18