Запчасти Komatsu NH-220-CI-1K ТОПЛИВН. TUBING ТОПЛИВН. СИСТЕМА

Схема запчастей Komatsu NH-220-CI-1K - ТОПЛИВН. TUBING ТОПЛИВН. СИСТЕМА
FIT
1:1
100%

Артикул

Название

Примечание

Количество

|$0

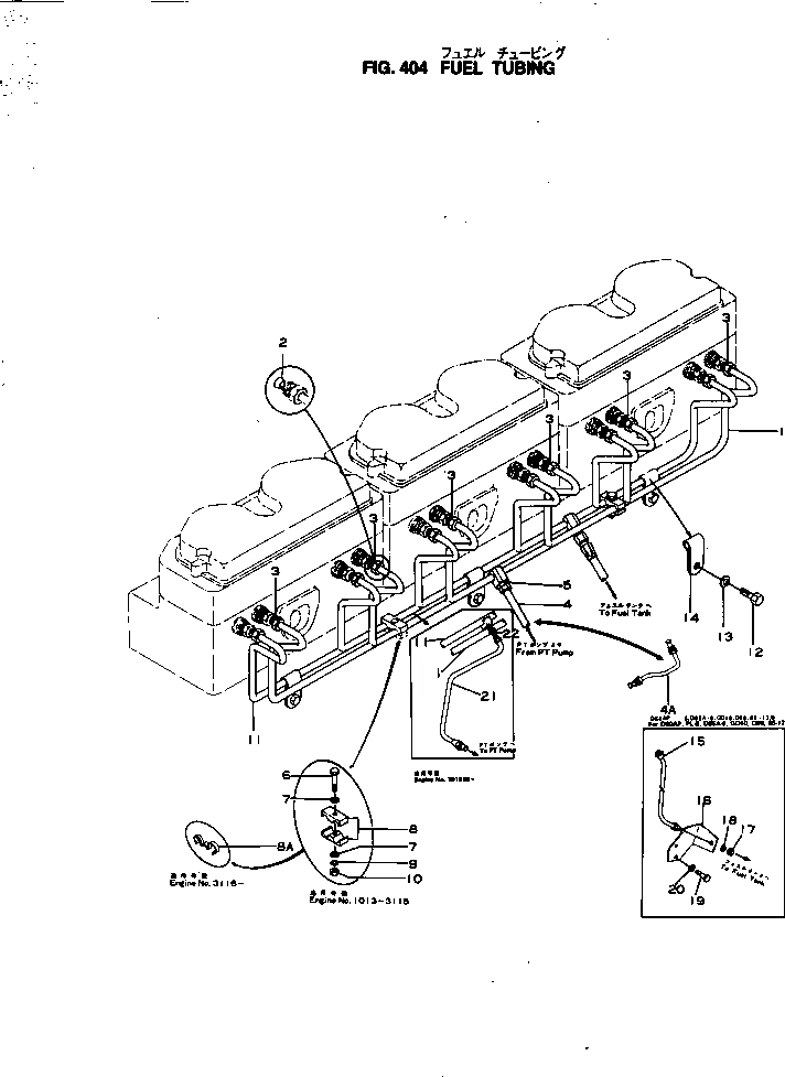
6643-71-8010

MANIFOLD ASS'Y,FUEL SUPPLY

SN: 8289-UP

1шт.

1

6623-71-8150

MANIFOLD

SN: 8289-UP

1шт.

2

6610-71-8180

FERRULE

SN: 8289-UP

6шт.

3

6610-71-8160

NUT

SN: 8289-UP

6шт.

4

6676-73-8111

TUBE,FUEL SUPPLY

SN: 15586-UP

1шт.

4

0

TUBE,FUEL SUPPLY

SN: 9518-15585

1шт.

4

0

TUBE,FUEL SUPPLY

SN: 8289-9517

1шт.

5

6610-71-8340

CONNECTOR

SN: 8289-UP

1шт.

8A

6610-71-8251

CLIP

SN: 8289-UP

2шт.

11

6623-71-8211

MANIFOLD

SN: 8289-UP

1шт.

12

02030-20616

BOLT

SN: 8289-UP

3шт.

13

02310-11224

WASHER,SPRING

SN: 8289-UP

3шт.

14

6610-71-8240

CLIP

SN: 8289-UP

3шт.

Выбрано товаров: 13