Запчасти Komatsu NH-220-CI-2E - -

Схема запчастей Komatsu NH-220-CI-2E - - -
FIT
1:1
100%

Артикул

Название

Примечание

Количество

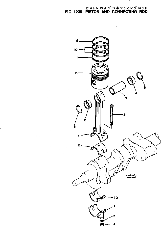
|1

6620-31-3012

CONNECTING ROD

SN: 100101-UP

6шт.

1

0

SN: 100101-UP

1шт.

2

6620-31-3120

BUSHING

SN: 100101-UP

2шт.

3

6610-31-3311

BOLT

SN: 100101-UP

2шт.

4

6610-31-3320

NUT

SN: 100101-UP

2шт.

5

6610-31-3331

WASHER

SN: 100101-UP

2шт.

|6

6620-31-2010

PISTON ASS'Y

SN: 100101-UP

6шт.

6

6620-31-2110

PISTON

SN: 100101-UP

1шт.

7

6620-31-2410

PISTON PIN

SN: 100101-UP

1шт.

8

6610-31-2130

SNAP RING

SN: 100101-UP

2шт.

|9

6620-31-2020

PISTON RING ASS

SN: 100101-UP

1шт.

|9

6620-31-2030

PISTON RING ASS

SN: 100101-UP

6шт.

9

0

SN: 100101-UP

1шт.

10

0

SN: 100101-UP

2шт.

11

0

SN: 100101-UP

1шт.

|$$16

-1шт.

12

6610-31-3041

METAL ASS'Y

SN: 100101-UP

6шт.

|12

0

SN: 100101-UP

2шт.

|$$19

-1шт.

12

6610-39-3041

METAL ASS'Y

SN: 100101-UP

6шт.

|12

0

SN: 100101-UP

2шт.

|$$22

-1шт.

12

6610-38-3041

METAL ASS'Y

SN: 100101-UP

6шт.

|12

0

SN: 100101-UP

2шт.

|$$25

-1шт.

12

6610-37-3041

METAL ASS'Y

SN: 100101-UP

6шт.

|12

0

SN: 100101-UP

2шт.

|$$28

-1шт.

12

6610-36-3041

METAL ASS'Y

SN: 100101-UP

6шт.

|12

0

SN: 100101-UP

2шт.

Выбрано товаров: 30