Запчасти Komatsu NH-220-CI-2H - -

Схема запчастей Komatsu NH-220-CI-2H - - -
FIT
1:1
100%

Артикул

Название

Примечание

Количество

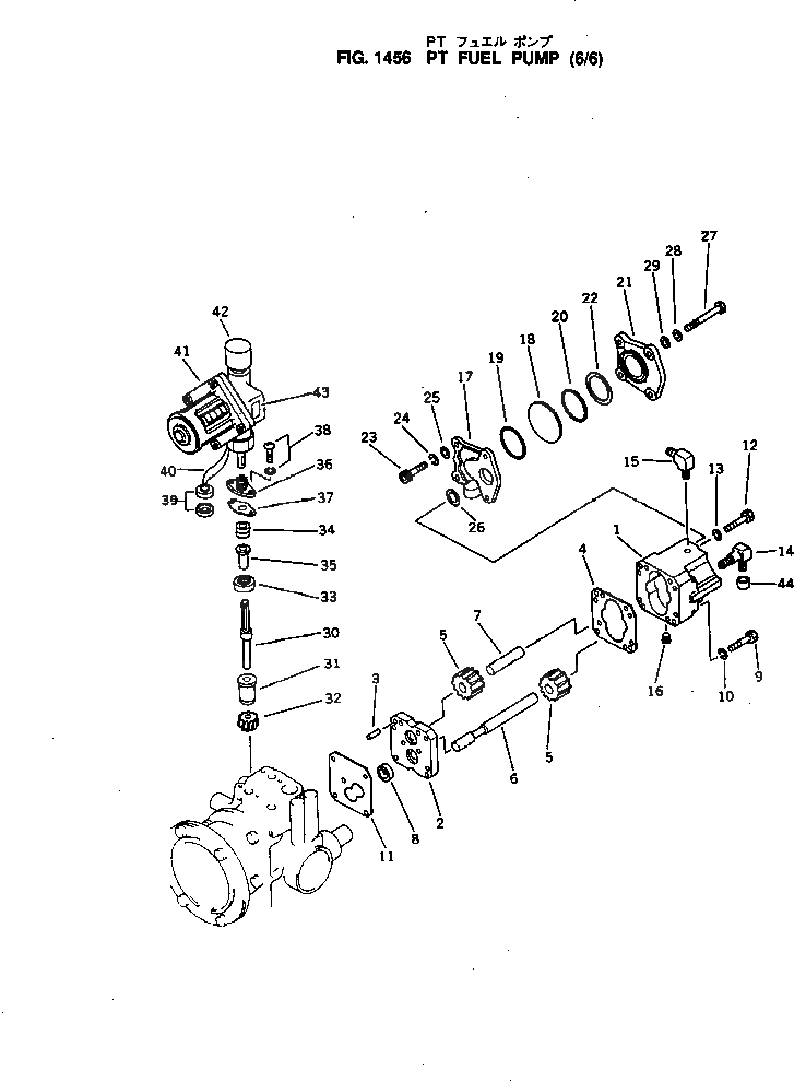
|1

6632-73-1002

PT PUMP ASS'Y

SN: ..-UP

1шт.

|1

0

PT PUMP ASS'Y

SN: 101990-..

1шт.

|1

6632-73-1000

PT PUMP ASS'Y

SN: 100101-101989

1шт.

|1

6620-71-2073

PT PUMP

SN: 144160-UP

1шт.

|1

6620-71-2072

GEAR PUMP ASS'Y

SN: .-144159

1шт.

|1

0

GEAR PUMP ASS'Y

SN: 101518-.

1шт.

|1

6620-71-2070

GEAR PUMP ASS'Y

SN: 100101-101517

1шт.

|1

0

SN: 144160-UP

1шт.

|1

0

SN: 101518-144159

1шт.

|1

0

SN: 100101-101517

1шт.

1

0

SN: 144160-UP

1шт.

|1

0

SN: 101518-144159

1шт.

|1

0

SN: 100101-101517

1шт.

2

0

SN: 101518-UP

1шт.

|2

0

SN: 100101-101517

1шт.

3

0

SN: 100101-UP

2шт.

4

6610-71-2541

GASKET

SN: 100101-UP

1шт.

5

0

SN: .-UP

2шт.

|5

0

SN: 100101-.

2шт.

6

0

SN: 100101-UP

1шт.

7

0

SN: 101518-UP

1шт.

|7

0

SN: 100101-101517

1шт.

8

6610-71-2530

RING

SN: 100101-UP

1шт.

9

02100-00457

BOLT

SN: 101518-UP

2шт.

|9

02100-00445

BOLT

SN: 100101-101517

2шт.

10

6610-71-1230

WASHER

SN: 100101-UP

2шт.

11

6610-71-2811

GASKET

SN: 101626-UP

1шт.

|11

6610-71-2810

GASKET

SN: 100101-101625

1шт.

12

02100-00464

BOLT

SN: 144160-UP

6шт.

|12

02100-00464

BOLT

SN: 100101-144159

4шт.

13

6610-71-1230

WASHER

SN: 100101-UP

4шт.

14

6610-71-2571

ELBOW

SN: 100101-UP

1шт.

15

6610-71-8190

ELBOW

SN: 101518-UP

1шт.

16

02720-40204

PLUG

SN: 144160-UP

1шт.

|16

0

PLUG

SN: 101518-144159

1шт.

|17

6610-71-2090

PULSATION DAMPE

SN: 100101-UP

1шт.

17

6610-71-2710

BODY

SN: 100101-UP

1шт.

18

6610-71-2731

DIAPHRAGM

SN: 100101-UP

1шт.

19

6610-71-2741

O-RING

SN: 100101-UP

1шт.

20

6610-71-2771

O-RING

SN: 100101-UP

1шт.

21

6610-71-2720

COVER

SN: 100101-UP

1шт.

22

6610-71-2760

WASHER

SN: 100101-UP

1шт.

23

02100-00445

BOLT

SN: 100101-UP

2шт.

24

6610-71-1230

WASHER

SN: 100101-UP

2шт.

25

6610-71-1840

WASHER

SN: 100101-UP

2шт.

26

6610-71-2750

SEAL

SN: 100101-UP

2шт.

27

6600-01-2150

CAP SCREW

SN: 100101-UP

2шт.

28

6610-71-1230

WASHER

SN: 100101-UP

2шт.

29

6610-71-1840

WASHER

SN: 100101-UP

2шт.

|30

6610-71-1081

DRIVE ASS'Y

SN: 148091-UP

1шт.

|30

0

DRIVE ASS'Y

SN: 100101-148090

1шт.

30

6610-71-1611

SHAFT

SN: 148091-UP

1шт.

|30

0

SHAFT

SN: 100101-148090

1шт.

31

6610-71-1620

BUSHING

SN: 100101-UP

1шт.

32

6610-71-1630

GEAR

SN: 100101-UP

1шт.

33

6610-71-1911

SEAL

SN: 100101-UP

1шт.

34

6610-71-1960

WASHER

SN: 104346-UP

1шт.

35

6610-71-1970

SPACER

SN: 104346-UP

1шт.

36

6610-71-1920

HOUSING

SN: 100101-UP

1шт.

37

6610-71-1930

GASKET

SN: 100101-UP

1шт.

38

6610-71-1951

CAP SCREW

SN: 100101-UP

2шт.

39

6610-71-1760

SEAL

SN: 100101-UP

1шт.

40

6610-71-1771

LOCK WIRE

SN: 100101-UP

1шт.

41

08684-00148

SERVICE METER

SN: 126511-UP

1шт.

|41

0

SERVICE METER

SN: 100101-126510

1шт.

42

6130-81-5290

CAP

SN: .-UP

1шт.

|42

0

CAP

SN: 100101-.

1шт.

44

6610-79-3910

RUBBER CAP

SN: 100101-UP

1шт.

Выбрано товаров: 68