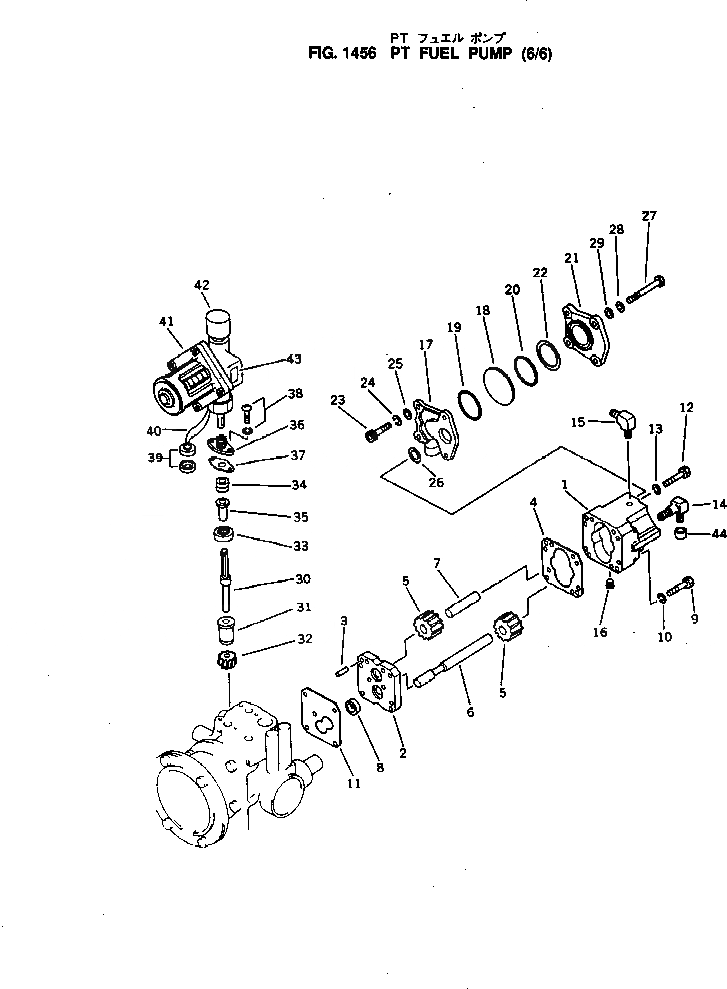
Запчасти Komatsu NH-220-CI-2H PT ТОПЛИВН. НАСОС (/) ТОПЛИВН. СИСТЕМА

Схема запчастей Komatsu NH-220-CI-2H - PT ТОПЛИВН. НАСОС (/) ТОПЛИВН. СИСТЕМА
FIT
1:1
100%

Артикул

Название

Примечание

Количество

|$0

6632-73-1002

PT FUEL PUMP ASS'Y,(GR-J055)

SN: ..-UP

1шт.

|$1

0

PT FUEL PUMP ASS'Y,(GR-J055)

SN: 101990-..

1шт.

|$2

6632-73-1000

PT FUEL PUMP ASS'Y,(GR-J055)

SN: 100101-101989

1шт.

|$3

6620-71-2073

GEAR PUMP ASS'Y

SN: 144160-UP

1шт.

|$4

6620-71-2072

GEAR PUMP ASS'Y

SN: .-144159

1шт.

|$5

0

GEAR PUMP ASS'Y

SN: 101518-.

1шт.

|$6

6620-71-2070

GEAR PUMP ASS'Y

SN: 100101-101517

1шт.

|$7

0

HOUSING ASS'Y

SN: 144160-UP

1шт.

|$8

0

HOUSING ASS'Y

SN: 101518-144159

1шт.

|$9

0

HOUSING ASS'Y

SN: 100101-101517

1шт.

1

0

HOUSING

SN: 144160-UP

1шт.

1

0

HOUSING

SN: 101518-144159

1шт.

1

0

HOUSING

SN: 100101-101517

1шт.

2

0

COVER

SN: 101518-UP

1шт.

2

0

COVER

SN: 100101-101517

1шт.

3

0

PIN,DOWEL

SN: 100101-UP

2шт.

4

6610-71-2541

GASKET (K6)

SN: 100101-UP

1шт.

5

0

GEAR

SN: .-UP

2шт.

5

0

GEAR

SN: 100101-.

2шт.

6

0

SHAFT,DRIVE

SN: 100101-UP

1шт.

7

0

SHAFT,IDLER

SN: 101518-UP

1шт.

7

0

SHAFT,IDLER

SN: 100101-101517

1шт.

8

6610-71-2530

RING,DOWEL

SN: 100101-UP

1шт.

9

02100-00457

BOLT

SN: 101518-UP

2шт.

9

02100-00445

BOLT

SN: 100101-101517

2шт.

10

6610-71-1230

WASHER,SPRING

SN: 100101-UP

2шт.

11

6610-71-2811

GASKET (K6)

SN: 101626-UP

1шт.

11

6610-71-2810

GASKET (K6)

SN: 100101-101625

1шт.

12

02100-00464

BOLT

SN: 144160-UP

6шт.

12

02100-00464

BOLT

SN: 100101-144159

4шт.

13

6610-71-1230

WASHER,SPRING

SN: 100101-UP

4шт.

14

6610-71-2571

ELBOW,FUEL INLET

SN: 100101-UP

1шт.

15

6610-71-8190

ELBOW,VALVE

SN: 101518-UP

1шт.

16

02720-40204

PLUG

SN: 144160-UP

1шт.

16

0

PLUG

SN: 101518-144159

1шт.

|$35

6610-71-2090

DAMPER ASS'Y,PULSATION

SN: 100101-UP

1шт.

17

6610-71-2710

BODY,DAMPER

SN: 100101-UP

1шт.

18

6610-71-2731

DIAPHRAGM

SN: 100101-UP

1шт.

19

6610-71-2741

RING (K6)

SN: 100101-UP

1шт.

20

6610-71-2771

RING (K6)

SN: 100101-UP

1шт.

21

6610-71-2720

COVER,DAMPER

SN: 100101-UP

1шт.

22

6610-71-2760

WASHER,NYLON

SN: 100101-UP

1шт.

23

02100-00445

BOLT

SN: 100101-UP

2шт.

24

6610-71-1230

WASHER,SPRING

SN: 100101-UP

2шт.

25

6610-71-1840

WASHER

SN: 100101-UP

2шт.

26

6610-71-2750

SEAL (K6)

SN: 100101-UP

2шт.

27

6600-01-2150

BOLT

SN: 100101-UP

2шт.

28

6610-71-1230

WASHER,SPRING

SN: 100101-UP

2шт.

29

6610-71-1840

WASHER

SN: 100101-UP

2шт.

|$49

6610-71-1081

DRIVE ASS'Y,SERVICE METER

SN: 148091-UP

1шт.

|$50

0

DRIVE ASS'Y,SERVICE METER

SN: 100101-148090

1шт.

30

6610-71-1611

SHAFT

SN: 148091-UP

1шт.

30

0

SHAFT

SN: 100101-148090

1шт.

31

6610-71-1620

BUSHING

SN: 100101-UP

1шт.

32

6610-71-1630

GEAR

SN: 100101-UP

1шт.

33

6610-71-1911

SEAL,OIL (K6)

SN: 100101-UP

1шт.

34

6610-71-1960

WASHER,FELT (K6)

SN: 104346-UP

1шт.

35

6610-71-1970

SPACER

SN: 104346-UP

1шт.

36

6610-71-1920

HOUSING

SN: 100101-UP

1шт.

37

6610-71-1930

GASKET (K6)

SN: 100101-UP

1шт.

38

6610-71-1951

BOLT

SN: 100101-UP

2шт.

39

6610-71-1760

SEAL,LEAD

SN: 100101-UP

1шт.

40

6610-71-1771

WIRE,LOCK

SN: 100101-UP

1шт.

41

08684-00148

METER,SERVICE

SN: 126511-UP

1шт.

41

0

METER,SERVICE

SN: 100101-126510

1шт.

42

6130-81-5290

CAP

SN: .-UP

1шт.

42

0

CAP

SN: 100101-.

1шт.

44

6610-79-3910

CAP

SN: 100101-UP

1шт.

Выбрано товаров: 68