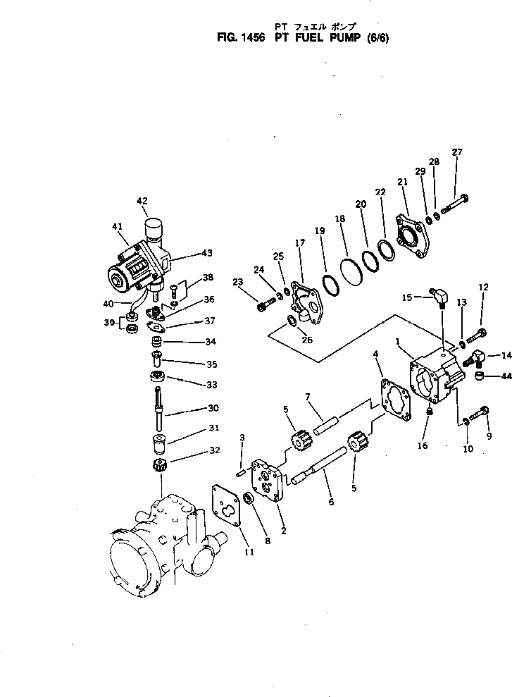
Запчасти Komatsu NH-220-CI-2JJ PT ТОПЛИВН. НАСОС (/) ТОПЛИВН. СИСТЕМА

Схема запчастей Komatsu NH-220-CI-2JJ - PT ТОПЛИВН. НАСОС (/) ТОПЛИВН. СИСТЕМА
FIT
1:1
100%

Артикул

Название

Примечание

Количество

|1

6631-71-1150

PT FUEL PUMP ASS'Y,(GR-J237)

SN: 174424-UP

1шт.

|1

6620-71-2073

GEAR PUMP ASS'Y

SN: 174424-UP

1шт.

|1

0

HOUSING ASS'Y

SN: 174424-UP

1шт.

1

0

HOUSING

SN: 174424-UP

1шт.

2

0

COVER

SN: 174424-UP

1шт.

3

0

PIN,DOWEL

SN: 174424-UP

2шт.

4

6610-71-2541

GASKET (K6)

SN: 174424-UP

1шт.

5

0

GEAR

SN: 174424-UP

2шт.

6

0

SHAFT,DRIVE

SN: 174424-UP

1шт.

7

0

SHAFT,IDLER

SN: 174424-UP

1шт.

8

6610-71-2530

RING,DOWEL

SN: 174424-UP

1шт.

9

02100-00457

BOLT

SN: 174424-UP

2шт.

10

6610-71-1230

WASHER,SPRING

SN: 174424-UP

2шт.

11

6610-71-2811

GASKET (K6)

SN: 174424-UP

1шт.

12

02100-00464

BOLT

SN: 174424-UP

6шт.

13

6610-71-1230

WASHER,SPRING

SN: 174424-UP

4шт.

15

6610-71-8190

ELBOW,VALVE

SN: 174424-UP

1шт.

16

02720-40204

PLUG

SN: 174424-UP

1шт.

|17

6610-71-2090

DAMPER ASS'Y,PULSATION

SN: 174424-UP

1шт.

17

6610-71-2710

BODY,DAMPER

SN: 174424-UP

1шт.

18

6610-71-2731

DIAPHRAGM

SN: 174424-UP

1шт.

19

6610-71-2741

RING (K6)

SN: 174424-UP

1шт.

20

6610-71-2771

RING (K6)

SN: 174424-UP

1шт.

21

6610-71-2720

COVER,DAMPER

SN: 174424-UP

1шт.

22

6610-71-2760

WASHER,NYLON

SN: 174424-UP

1шт.

23

02100-00432

BOLT

SN: 174424-UP

2шт.

24

6610-71-1230

WASHER,SPRING

SN: 174424-UP

2шт.

25

6610-71-1840

WASHER

SN: 174424-UP

2шт.

26

6610-71-2750

SEAL (K6)

SN: 174424-UP

2шт.

27

6600-01-2150

BOLT

SN: 174424-UP

2шт.

28

6610-71-1230

WASHER,SPRING

SN: 174424-UP

2шт.

29

6610-71-1840

WASHER

SN: 174424-UP

2шт.

|30

6610-71-1601

DRIVE ASS'Y,TACHOMETER

SN: 174424-UP

1шт.

30

6610-71-1611

SHAFT

SN: 174424-UP

1шт.

31

6610-71-1620

BUSHING

SN: 174424-UP

1шт.

32

6610-71-1630

GEAR

SN: 174424-UP

1шт.

33

6610-71-1911

SEAL,OIL (K6)

SN: 174424-UP

1шт.

34

6610-71-1960

WASHER,FELT (K6)

SN: 174424-UP

1шт.

35

6610-71-1970

SPACER

SN: 174424-UP

1шт.

36

6610-71-1920

HOUSING

SN: 174424-UP

1шт.

37

6610-71-1930

GASKET (K6)

SN: 174424-UP

1шт.

38

6610-71-1951

BOLT

SN: 174424-UP

2шт.

39

6610-71-1760

SEAL,LEAD

SN: 174424-UP

1шт.

40

6610-71-1771

WIRE,LOCK

SN: 174424-UP

1шт.

42

6130-81-5290

CAP

SN: 174424-UP

1шт.

44

6610-79-3910

CAP

SN: 174424-UP

1шт.

Выбрано товаров: 46