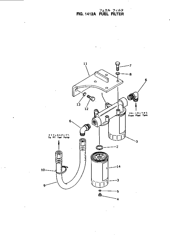
Запчасти Komatsu NH-220-CI-2LL ТОПЛИВН. ФИЛЬТР. ТОПЛИВН. СИСТЕМА

Схема запчастей Komatsu NH-220-CI-2LL - ТОПЛИВН. ФИЛЬТР. ТОПЛИВН. СИСТЕМА
FIT
1:1
100%

Артикул

Название

Примечание

Количество

|1

6710-71-6100

FUEL FILTER ASS'Y

SN: 174572-UP

1шт.

1

6710-71-6110

HEAD

SN: 174572-UP

1шт.

2

600-311-8390

RING,SEAL

SN: 174572-UP

2шт.

3

600-311-8291

CARTRIDGE

SN: 174572-UP

2шт.

4

6110-73-6231

PLUG

SN: 174572-UP

1шт.

5

07005-00812

GASKET

SN: 174572-UP

1шт.

6

6710-71-8470

ELBOW

SN: 174572-UP

2шт.

7

02010-70632

BOLT

SN: 174572-UP

4шт.

8

01602-00929

WASHER,SPRING

SN: 174572-UP

4шт.

9

02750-24050

HOSE,OUTLET

SN: 174572-UP

1шт.

10

08034-00519

BAND

SN: 174572-UP

1шт.

11

6631-22-6540

BRACKET

SN: 174572-UP

1шт.

12

02030-70925

BOLT

SN: 174572-UP

2шт.

13

02310-11836

WASHER,SPRING

SN: 174572-UP

2шт.

14

09636-00120

PLATE¤ INSTRUCTION

SN: 174572-UP

1шт.

Выбрано товаров: 15