Запчасти Komatsu NH-220-CI-2R ВЫПУСКНОЙ КОЛЛЕКТОР И ГЛУШИТЕЛЬ(№-) ГОЛОВКА ЦИЛИНДРОВ

Схема запчастей Komatsu NH-220-CI-2R - ВЫПУСКНОЙ КОЛЛЕКТОР И ГЛУШИТЕЛЬ(№-) ГОЛОВКА ЦИЛИНДРОВ
FIT
1:1
100%

Артикул

Название

Примечание

Количество

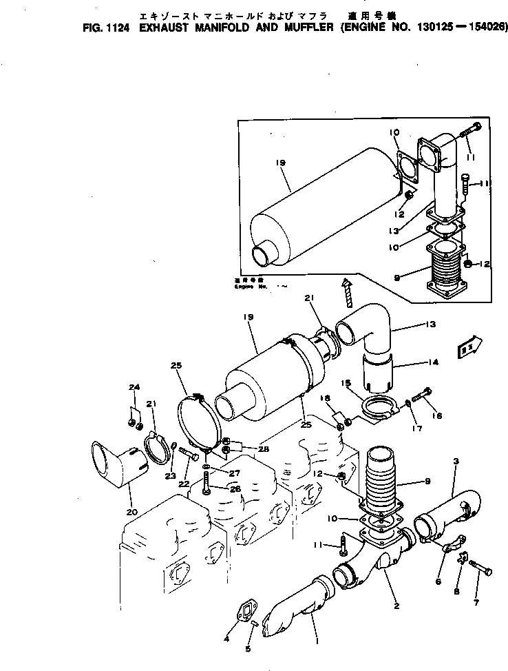
1

6643-11-5130

MANIFOLD,EXHAUST¤ REAR

SN: 130125-@

1шт.

2

6643-11-5120

MANIFOLD,EXHAUST¤ CENTER

SN: 130125-@

1шт.

3

6643-11-5110

MANIFOLD,EXHAUST¤ FRONT

SN: 130125-@

1шт.

4

6620-11-5810

GASKET (K1)

SN: 130125-@

6шт.

5

6610-11-1420

PIN,DOWEL

SN: 130125-@

6шт.

6

6610-11-5211

CLAMP

SN: 130125-@

6шт.

7

6610-11-5350

BOLT

SN: 130125-@

12шт.

8

6610-11-5220

PLATE,LOCK (K1)

SN: 130125-@

12шт.

9

6996-11-5721

BELLOWS,EXHAUST

SN: .-154026

1шт.

|9

6996-11-5720

BELLOWS,EXHAUST

SN: 130125-.

1шт.

10

6643-11-5750

GASKET (K1)

SN: .-154026

3шт.

|10

6643-11-5750

GASKET (K1)

SN: 130125-.

1шт.

11

01050-61245

BOLT

SN: .-154026

12шт.

|11

01050-61245

BOLT

SN: 130125-.

4шт.

12

6685-11-5550

NUT,LOCK

SN: .-154026

12шт.

|12

6685-11-5550

NUT,LOCK

SN: 130125-.

4шт.

13

6996-11-5660

PIPE,EXHAUST

SN: .-154026

1шт.

|13

6996-11-5740

PIPE,EXHAUST

SN: 130125-.

1шт.

14

6996-11-5730

PIPE,EXHAUST

SN: 130125-.

1шт.

15

6679-11-5740

CLAMP

SN: 130125-.

1шт.

16

6005201-5-30

SCREW

SN: 130125-.

1шт.

17

01640-21230

WASHER

SN: 130125-.

1шт.

18

01582-01210

NUT

SN: 130125-.

2шт.

19

6996-11-5610

MUFFLER

SN: .-154026

1шт.

|19

6996-11-5710

MUFFLER

SN: 130125-.

1шт.

20

6996-11-5760

PIPE,EXHAUST

SN: 130125-154026

1шт.

21

6620-11-5742

CLAMP

SN: .-154026

1шт.

|21

6620-11-5742

CLAMP

SN: 130125-.

2шт.

22

6005201-5-30

SCREW

SN: .-154026

1шт.

|22

6005201-5-30

SCREW

SN: 130125-.

2шт.

23

01640-21223

WASHER

SN: .-154026

1шт.

|23

01640-21223

WASHER

SN: 130125-.

2шт.

24

01582-01210

NUT

SN: .-154026

2шт.

|24

01582-01210

NUT

SN: 130125-.

4шт.

25

6996-11-5750

BRACKET

SN: 130125-154026

2шт.

26

01010-31030

BOLT

SN: 130125-154026

4шт.

27

01640-21016

WASHER

SN: 130125-154026

4шт.

28

01580-01008

NUT

SN: 130125-154026

8шт.

Выбрано товаров: 38