Запчасти Komatsu NH-220-CI-2R PT ТОПЛИВН. НАСОС (/) ТОПЛИВН. СИСТЕМА

Схема запчастей Komatsu NH-220-CI-2R - PT ТОПЛИВН. НАСОС (/) ТОПЛИВН. СИСТЕМА
FIT
1:1
100%

Артикул

Название

Примечание

Количество

|1

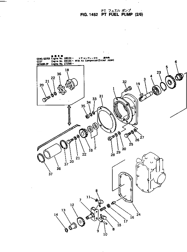
6688-72-1000

PT FUEL PUMP ASS'Y,(GR-J116)

SN: 130125-UP

1шт.

|1

6691-71-2021

GOVERNOR ASS'Y

SN: 139523-UP

1шт.

|1

0

GOVERNOR ASS'Y

SN: 130125-139522

1шт.

|1

6610-71-2030

COVER ASS'Y

SN: 130125-UP

1шт.

1

0

COVER

SN: 130125-UP

1шт.

2

6610-71-2320

SEAL,OIL (K6)

SN: 130125-UP

2шт.

|3

6610-71-2040

DRIVE ASS'Y

SN: 130125-UP

1шт.

3

6610-71-2330

SHAFT

SN: 130125-UP

1шт.

4

6600-01-1240

BEARING

SN: 130125-UP

1шт.

5

6610-71-2340

GEAR,PUMP DRIVE

SN: 130125-UP

1шт.

6

6610-71-2350

GEAR,TACHOMETER DRIVE

SN: 130125-UP

1шт.

|7

6610-71-2011

WEIGHT CARRIER A.

SN: 139523-UP

1шт.

|7

0

WEIGHT CARRIER A.

SN: 130125-139522

1шт.

7

6610-71-2051

CARRIER ASS'Y

SN: 139523-UP

1шт.

|7

6610-71-2050

CARRIER ASS'Y

SN: 130125-139522

1шт.

|7

0

CARRIER ASS'Y

SN: 139523-UP

1шт.

|7

0

CARRIER ASS'Y

SN: 130125-139522

1шт.

|7

0

SHAFT

SN: 139523-UP

1шт.

|7

0

SHAFT

SN: 130125-139522

1шт.

|7

0

CARRIER

SN: 139523-UP

1шт.

|7

0

CARRIER

SN: 130125-139522

1шт.

|7

0

WIRE

SN: 130125-UP

1шт.

8

6610-71-2250

WEIGHT,GOVERNOR

SN: 130125-UP

2шт.

9

6610-71-2260

SHAFT

SN: 130125-UP

2шт.

10

6710-71-2270

PIN,PIVOT

SN: 139523-UP

2шт.

|10

6610-71-2270

PIN,PIVOT

SN: 130125-139522

2шт.

11

6610-71-2280

WASHER,THRUST

SN: 130125-139522

4шт.

12

6710-71-2110

GEAR,DRIVE

SN: 139523-UP

1шт.

|12

6610-71-2110

GEAR,DRIVE

SN: 130125-139522

1шт.

13

6610-71-2121

BUSHING

SN: 130125-UP

1шт.

14

6610-71-2131

RING,SNAP

SN: 130125-UP

1шт.

15

6610-71-2140

SPRING,WEIGHT ASSIST

SN: 130125-UP

1шт.

16

6610-71-2150

PLUNGER,WEIGHT ASSIST

SN: 130125-UP

1шт.

17

6610-71-2160

SHIM,WEIGHT ASSIST

SN: 130125-UP

-2шт.

18

6610-71-2380

COUPLING

SN: 130125-UP

1шт.

19

6610-71-2370

KEY

SN: 130125-UP

1шт.

20

02030-20619

BOLT

SN: 130125-UP

1шт.

21

01602-00929

WASHER,SPRING

SN: 172867-UP

1шт.

|21

02310-11224

WASHER,SPRING

SN: 130125-172866

1шт.

22

02300-11320

WASHER

SN: 130125-UP

1шт.

23

6610-71-2360

RING,SNAP

SN: 130125-UP

1шт.

24

6610-71-2410

GASKET (K6)

SN: 130125-UP

1шт.

25

02010-20432

BOLT

SN: 130125-UP

6шт.

26

01602-00720

WASHER,SPRING

SN: 172867-UP

6шт.

|26

02310-10916

WASHER,SPRING

SN: 130125-172866

6шт.

27

6610-71-1840

WASHER

SN: 130125-UP

6шт.

28

02100-00332

BOLT

SN: 130125-UP

1шт.

29

02310-10814

WASHER,SPRING

SN: 130125-UP

1шт.

30

02300-10716

WASHER

SN: 130125-UP

1шт.

31

6610-71-7821

GASKET (K6)

SN: 130125-UP

1шт.

32

02010-20744

BOLT

SN: 130125-UP

3шт.

|32

6600-01-2280

BOLT

SN: 130125-UP

1шт.

33

02300-11520

WASHER

SN: 130125-UP

4шт.

34

02310-11428

WASHER,SPRING

SN: 130125-UP

4шт.

35

02206-10707

NUT

SN: 130125-UP

4шт.

36

6610-71-7710

COUPLING

SN: 130125-UP

1шт.

37

6610-71-7720

RING,SNAP

SN: 130125-UP

2шт.

Выбрано товаров: 57