Запчасти Komatsu NHC-4-CI-1S СИСТЕМА СМАЗКИ МАСЛ. ПРОХОДНОЙ ФИЛЬТР СИСТЕМА СМАЗКИ МАСЛ. СИСТЕМА

Схема запчастей Komatsu NHC-4-CI-1S - СИСТЕМА СМАЗКИ МАСЛ. ПРОХОДНОЙ ФИЛЬТР СИСТЕМА СМАЗКИ МАСЛ. СИСТЕМА
FIT
1:1
100%

Артикул

Название

Примечание

Количество

|1

6670-51-5010

FILTER ASS'Y,(JAPANESE-ENGLISH)

SN: 5787-UP

1шт.

|1

6670-51-5030

FILTER ASS'Y,(ENGLISH-SPANISH)

SN: 5792-UP

1шт.

|1

6670-51-5020

FILTER ASS'Y,(JAPANESE-ENGLISH)

SN: 5787-UP

1шт.

|1

6670-51-5040

FILTER ASS'Y,(ENGLISH-SPANISH)

SN: 5792-UP

1шт.

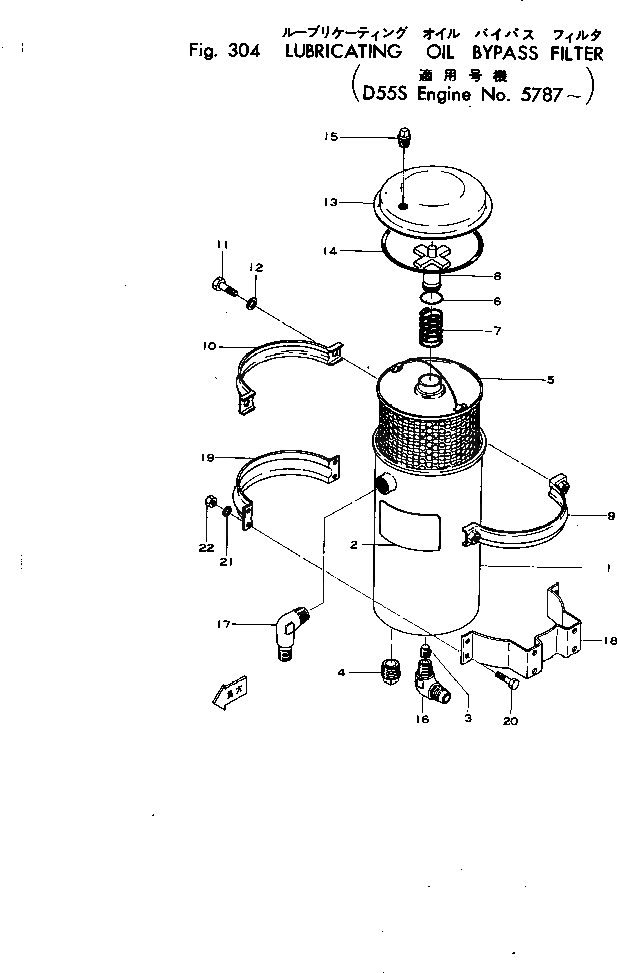
1

0

BODY

SN: 5787-UP

1шт.

2

6610-81-1343

PLATE¤ INSTRUCTION,(JAPANESE-ENGLISH)

SN: 5787-UP

1шт.

|2

0

PLATE¤ INSTRUCTION,(JAPANESE-ENGLISH)

SN: (5787-5791)

1шт.

|2

6610-81-1642

PLATE¤ INSTRUCTION,(ENGLISH-SPANISH)

SN: 5787-UP

1шт.

3

6610-51-5640

PLUG

SN: 5787-UP

1шт.

4

6610-51-4520

PLUG

SN: 5787-UP

1шт.

5

6671-51-5300

CARTRIDGE

SN: 5787-UP

1шт.

6

6610-51-5620

O-RING

SN: 5787-UP

1шт.

7

6610-51-5630

SPRING

SN: 5787-UP

1шт.

8

6610-51-5610

SUPPORT

SN: 5787-UP

1шт.

9

6610-51-5530

COUPLING

SN: 5787-UP

1шт.

10

6610-51-5520

COUPLING

SN: 5787-UP

1шт.

11

02010-20532

BOLT

SN: 5787-UP

2шт.

12

02310-11020

WASHER

SN: 5787-UP

2шт.

13

6610-51-5510

COVER

SN: 5787-UP

1шт.

14

02894-07201

O-RING

SN: 5787-UP

1шт.

15

6610-51-4520

PLUG

SN: 5787-UP

1шт.

16

6600-01-3240

ELBOW

SN: 5787-UP

2шт.

17

02701-31006

ELBOW

SN: 9930-UP

2шт.

18

6610-51-5710

BAND

SN: 9930-UP

2шт.

19

6610-51-5720

BAND

SN: 9930-UP

2шт.

20

02010-20419

BOLT

SN: 9930-UP

8шт.

21

02310-10916

WASHER

SN: 9930-UP

8шт.

22

02205-10406

NUT

SN: 9930-UP

8шт.

Выбрано товаров: 28