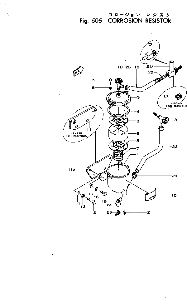
Запчасти Komatsu NHC-4-CI-1S АНТИКОРРОЗ. ЭЛЕМЕНТ ПРЕДОХР-ЛЬ ОХЛАЖД-Е И ЭЛЕКТРИКАS

Схема запчастей Komatsu NHC-4-CI-1S - АНТИКОРРОЗ. ЭЛЕМЕНТ ПРЕДОХР-ЛЬ ОХЛАЖД-Е И ЭЛЕКТРИКАS
FIT
1:1
100%

Артикул

Название

Примечание

Количество

|1

6610-61-8100

RESISTOR ASS'Y,CORROSION

SN: 5787-UP

1шт.

|1

6610-60-8110

BODY ASS'Y,(JAPANESE-ENGLISH)

SN: 5787-UP

1шт.

|1

6610-60-8120

BODY ASS'Y,(ENGLISH-SPANISH)

SN: 7905-UP

1шт.

1

0

BODY

SN: 5787-UP

1шт.

2

6610-81-1322

PLATE¤ INSTRUCTION,(JAPANESE-ENGLISH)

SN: 5787-UP

1шт.

|2

6610-81-1621

PLATE¤ INSTRUCTION,(ENGLISH-SPANISH)

SN: 7905-UP

1шт.

3

6610-51-4520

PLUG

SN: 5787-UP

1шт.

4

6610-61-8121

COVER

SN: 5787-UP

1шт.

5

6610-61-8130

GASKET

SN: 5787-UP

1шт.

6

02010-20532

BOLT

SN: 5787-UP

2шт.

7

02300-11120

WASHER

SN: 5787-UP

2шт.

8

6610-61-8150

SPRING

SN: 5787-UP

1шт.

9

6610-61-8140

PLATE

SN: 5787-UP

2шт.

10

6610-61-8210

ELEMENT

SN: 5787-UP

1шт.

11A

6672-22-6111

BRACKET

SN: 5787-UP

1шт.

12

02010-20844

BOLT

SN: 5787-UP

2шт.

13

02310-11632

WASHER

SN: 5787-UP

2шт.

14

02300-11730

WASHER

SN: 5787-11338

2шт.

15

01000-31225

BOLT

SN: 5787-UP

2шт.

16

01602-01236

WASHER

SN: 5787-UP

2шт.

17

01640-21223

WASHER

SN: 5787-UP

2шт.

18

6610-61-8410

VALVE

SN: 5787-UP

2шт.

19

6672-62-8513

HOSE

SN: 14640-UP

1шт.

|19

6672-62-8512

HOSE

SN: 8739-14639

1шт.

|19

0

HOSE

SN: 5787-8738

1шт.

20

6610-61-8610

CONNECTOR

SN: 5787-8738

1шт.

21A

6672-62-8671

CONNECTOR

SN: 14640-UP

1шт.

|21A

6672-62-8680

CONNECTOR

SN: 8739-14639

1шт.

|21A

6672-62-8670

CONNECTOR

SN: 5787-8738

1шт.

22

6672-62-8521

HOSE

SN: 5787-UP

1шт.

23

07280-02523

CLAMP

SN: 5787-UP

4шт.

|24

6610-61-8060

VALVE ASS'Y

SN: 5787-UP

1шт.

24

6610-61-8621

ELBOW

SN: 5787-UP

1шт.

25

6600-01-3920

VALVE

SN: 5787-UP

1шт.

Выбрано товаров: 34