Запчасти Komatsu NT-855-1A ВОЗДУХООЧИСТИТЕЛЬ И ПРЕФИЛЬТР (ДЛЯ TОБОД КОЛЕСАMING DOZER) (ТУННЕЛЬН. СПЕЦ-Я.) ГОЛОВКА ЦИЛИНДРОВ

Схема запчастей Komatsu NT-855-1A - ВОЗДУХООЧИСТИТЕЛЬ И ПРЕФИЛЬТР (ДЛЯ TОБОД КОЛЕСАMING DOZER) (ТУННЕЛЬН. СПЕЦ-Я.) ГОЛОВКА ЦИЛИНДРОВ
FIT
1:1
100%

Артикул

Название

Примечание

Количество

|1

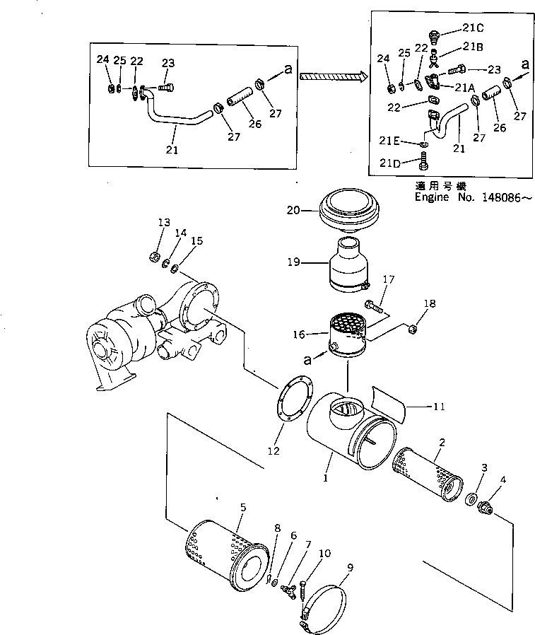
6711-81-7200

AIR CLEANER ASS'Y

SN: 139838-UP

1шт.

1

6127-82-7115

BODY

SN: 139838-UP

1шт.

|$$3

WHEN REPLACING BODY¤ ALSO SUPPLY CAUTION PLATE AS A SET.

-1шт.

|2

600-181-4030

ELEMENT ASS'Y

SN: 139838-UP

1шт.

2

600-181-1560

ELEMENT,INNER

SN: 139838-UP

1шт.

3

600-181-7511

WASHER,SEAL

SN: 139838-UP

1шт.

4

600-181-4370

NUT

SN: 139838-UP

1шт.

|5

600-181-4400

ELEMENT ASS'Y,OUTER

SN: 139838-UP

1шт.

5

0

ELEMENT,OUTER

SN: 139838-UP

1шт.

6

600-181-4440

GASKET,SEAL

SN: 139838-UP

1шт.

7

600-181-4420

NUT,WING

SN: 139838-UP

1шт.

8

600-181-4430

CLIP

SN: 139838-UP

1шт.

9

6127-11-4360

BAND ASS'Y

SN: 139838-UP

1шт.

|9

0

PIN

SN: 139838-UP

1шт.

|9

0

PIN¤ WITH THREAD

SN: 139838-UP

1шт.

10

6643-11-4641

BOLT

SN: 139838-UP

1шт.

11

09637-00161

PLATE¤ INSTRUCTION

SN: 162255-UP

1шт.

|11

0

PLATE¤ INSTRUCTION

SN: 139838-162254

1шт.

12

6127-81-4821

GASKET (K1)

SN: 139838-UP

1шт.

13

01580-01008

NUT

SN: 139838-UP

8шт.

14

01602-01030

WASHER

SN: 139838-UP

8шт.

15

01640-21016

WASHER

SN: 139838-UP

8шт.

16

600-181-5710

PRE-CLEANER ASS'Y

SN: 139838-UP

1шт.

17

01016-31045

BOLT

SN: 139838-UP

1шт.

18

01580-01008

NUT

SN: 139838-UP

1шт.

19

6711-81-7920

CONNECTOR

SN: 139838-UP

1шт.

20

600-181-1510

CAP

SN: 139838-UP

1шт.

21

6711-11-4770

PIPE

SN: 148086-UP

1шт.

|21

6711-11-4710

PIPE

SN: 139838-148085

1шт.

|21A

6128-11-5303

CHECK VALVE ASS'Y

SN: 176557-UP

1шт.

|21A

0

CHECK VALVE ASS'Y

SN: 148086-176556

1шт.

21A

6128-11-5312

BODY

SN: 148086-UP

1шт.

21B

6128-11-5332

VALVE

SN: 176557-UP

1шт.

|21B

0

VALVE

SN: 148086-176556

1шт.

21C

6128-11-5321

COVER

SN: 148086-UP

1шт.

21D

01010-31025

BOLT

SN: 148086-UP

2шт.

21E

01602-01030

WASHER,SPRING

SN: 148086-UP

2шт.

22

6128-11-5610

GASKET (K1)

SN: 148086-UP

2шт.

|22

6128-11-5610

GASKET (K1)

SN: 139838-148085

1шт.

23

01010-31035

BOLT

SN: 139838-UP

2шт.

24

01580-01008

NUT

SN: 139838-UP

2шт.

25

01602-01030

WASHER,SPRING

SN: 139838-UP

2шт.

26

6711-11-4780

HOSE

SN: 148086-UP

1шт.

|26

6127-11-5960

HOSE

SN: 139838-148085

1шт.

27

07281-00489

CLAMP

SN: 139838-UP

2шт.

Выбрано товаров: 45