Запчасти Komatsu NT-855-1A МАСЛЯНЫЙ ПОДДОН БЛОК ЦИЛИНДРОВ

Схема запчастей Komatsu NT-855-1A - МАСЛЯНЫЙ ПОДДОН БЛОК ЦИЛИНДРОВ
FIT
1:1
100%

Артикул

Название

Примечание

Количество

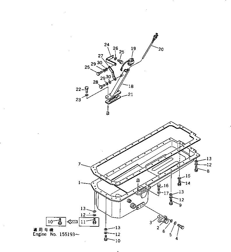
1

6632-21-5111

PAN,OIL

SN: 139838-UP

1шт.

2

6693-22-5600

VALVE ASS'Y,DRAIN

SN: 139838-UP

1шт.

3

07000-63028

O-RING (K2)

SN: 139838-UP

1шт.

4

01010-31030

BOLT

SN: 139838-UP

2шт.

5

01602-01030

WASHER,SPRING

SN: 139838-UP

2шт.

6

01640-21016

WASHER

SN: 139838-UP

2шт.

7

6623-21-5812

GASKET (K2)

SN: 139838-UP

1шт.

8

6610-21-5720

BOLT

SN: 155193-UP

26шт.

|8

6610-21-5720

BOLT

SN: 139838-155192

22шт.

9

02030-70738

BOLT

SN: 155193-UP

1шт.

|9

02030-70738

BOLT

SN: 139838-155192

2шт.

10

02010-70732

BOLT

SN: 155193-UP

7шт.

|10

02010-70732

BOLT

SN: 139838-155192

4шт.

11

02030-70738

BOLT

SN: 139838-155192

3шт.

12

01602-01134

WASHER,SPRING

SN: 139838-UP

31шт.

13

01641-21223

WASHER

SN: 139838-UP

31шт.

14

02030-70529

BOLT

SN: 139838-UP

4шт.

15

02310-11020

WASHER,SPRING

SN: 139838-UP

4шт.

16

01010-30830

BOLT

SN: 139838-UP

1шт.

17

01602-00825

WASHER,SPRING

SN: 139838-UP

1шт.

18

6711-21-5470

BRACKET

SN: 160554-UP

1шт.

|18

0

BRACKET

SN: 139838-160553

1шт.

19

07025-00100

CAP

SN: 155814-UP

1шт.

|19

0

CAP

SN: 139838-155813

1шт.

20

6692-21-5301

OIL GAUGE ASS'Y

SN: 162604-UP

1шт.

|20

0

OIL GAUGE ASS'Y

SN: 139838-162603

1шт.

21

6643-21-5421

GASKET (K2)

SN: 139838-UP

1шт.

22

01010-31230

BOLT

SN: 139838-UP

2шт.

23

01602-01236

WASHER,SPRING

SN: 139838-UP

2шт.

24

6711-21-5420

BRACKET

SN: 139838-UP

1шт.

25

02030-70925

BOLT

SN: 139838-UP

1шт.

26

02310-11836

WASHER,SPRING

SN: 139838-UP

1шт.

27

6691-21-5430

PLATE

SN: 139838-UP

1шт.

28

01010-31025

BOLT

SN: 139838-UP

1шт.

29

01602-01030

WASHER,SPRING

SN: 139838-UP

2шт.

30

01642-01016

WASHER

SN: 139838-UP

2шт.

Выбрано товаров: 36