Запчасти Komatsu NT-855-1A СИСТЕМА СМАЗКИ МАСЛООХЛАДИТЕЛЬ (ОСНОВН. МУФТА) СИСТЕМА СМАЗКИ МАСЛ. СИСТЕМА

Схема запчастей Komatsu NT-855-1A - СИСТЕМА СМАЗКИ МАСЛООХЛАДИТЕЛЬ (ОСНОВН. МУФТА) СИСТЕМА СМАЗКИ МАСЛ. СИСТЕМА
FIT
1:1
100%

Артикул

Название

Примечание

Количество

|1

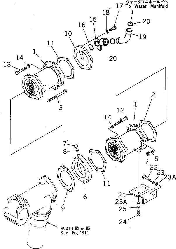
6711-61-9202

OIL COOLER ASS'Y

SN: 139838-UP

1шт.

1

6711-61-9212

COOLER,OIL

SN: 139838-UP

2шт.

2

6711-61-9160

GASKET (K2)

SN: 139838-UP

1шт.

3

02011-70614

BOLT

SN: 139838-UP

6шт.

4

02205-10609

NUT

SN: 139838-UP

6шт.

5

01602-00929

WASHER,SPRING

SN: 139838-UP

6шт.

6

6711-61-5251

SPACER ASS'Y

SN: 139838-UP

1шт.

7

6600-01-2880

PLUG

SN: 139838-UP

1шт.

8

6610-81-4150

GASKET (K2)

SN: 139838-UP

1шт.

9

6711-61-5260

GASKET (K2)

SN: 139838-UP

1шт.

10

6711-61-5510

COVER

SN: 139838-UP

1шт.

11

6711-61-9160

GASKET (K2)

SN: 139838-UP

2шт.

12

02011-70602

BOLT

SN: 139838-UP

6шт.

13

02010-70664

BOLT

SN: 139838-UP

6шт.

14

01602-00929

WASHER,SPRING

SN: 139838-UP

12шт.

15

6711-61-5551

ELBOW

SN: 151456-UP

1шт.

|15

0

ELBOW

SN: 139838-151455

1шт.

16

07000-03045

O-RING (K2)

SN: 139838-UP

1шт.

17

02010-70625

BOLT

SN: 139838-UP

2шт.

18

01602-00929

WASHER,SPRING

SN: 139838-UP

2шт.

19

6711-61-2630

PIPE

SN: 139838-UP

1шт.

20

07000-03038

O-RING (K2)

SN: 139838-UP

2шт.

21

6711-61-6580

BRACKET

SN: 139838-UP

1шт.

22

02010-70832

BOLT

SN: 163696-UP

2шт.

|22

02010-30822

BOLT

SN: 139838-163695

2шт.

23

01602-01338

WASHER,SPRING

SN: 139838-UP

2шт.

23A

01640-21323

WASHER

SN: .-UP

2шт.

24

02010-70625

BOLT

SN: 139838-UP

4шт.

25

01602-00929

WASHER,SPRING

SN: 139838-UP

4шт.

25A

01640-21016

WASHER

SN: .-UP

4шт.

Выбрано товаров: 30