Запчасти Komatsu NT-855-1B СИСТЕМА СМАЗКИ МАСЛ. ПРОХОДНОЙ ФИЛЬТР СИСТЕМА СМАЗКИ МАСЛ. СИСТЕМА

Схема запчастей Komatsu NT-855-1B - СИСТЕМА СМАЗКИ МАСЛ. ПРОХОДНОЙ ФИЛЬТР СИСТЕМА СМАЗКИ МАСЛ. СИСТЕМА
FIT
1:1
100%

Артикул

Название

Примечание

Количество

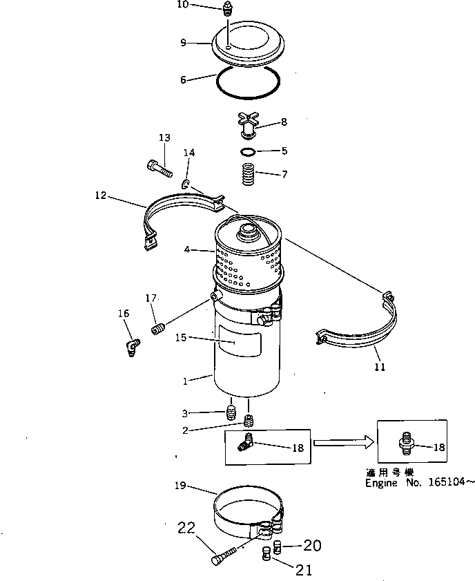
|1

6631-51-5000

OIL FILTER ASS'Y

SN: 139849-UP

1шт.

|1

6610-51-5020

CASE ASS'Y

SN: 139849-UP

1шт.

|$$3

WHEN REPLACING BODY¤ ALSO SUPPLY CAUTION PLATE AS A SET.

-1шт.

1

0

CASE

SN: 139849-UP

1шт.

2

6610-51-5640

PLUG

SN: 139849-UP

1шт.

3

6610-51-4520

PLUG,DRAIN

SN: 139849-UP

1шт.

|4

6610-51-5050

ELEMENT ASS'Y

SN: 139849-UP

1шт.

4

0

ELEMENT

SN: 139849-UP

1шт.

5

6610-51-5620

O-RING

SN: 139849-UP

1шт.

6

02894-07201

O-RING (K2)

SN: 139849-UP

1шт.

7

6610-51-5630

SPRING

SN: 139849-UP

1шт.

8

6610-51-5610

SUPPORT

SN: 139849-UP

1шт.

9

6610-51-5510

COVER

SN: 139849-UP

1шт.

10

6610-51-4520

PLUG

SN: 139849-UP

1шт.

11

6610-51-5530

COUPLING

SN: 139849-UP

1шт.

12

6610-51-5520

COUPLING

SN: 139849-UP

1шт.

13

600-211-1850

BOLT

SN: 163696-UP

2шт.

|13

0

BOLT

SN: 139849-163695

2шт.

14

02310-11020

WASHER,SPRING

SN: 139849-UP

2шт.

15

09633-00125

PLATE¤ INSTRUCTION,(JAPANESE-ENGLISH)

SN: 139849-UP

1шт.

16

6127-51-5930

ELBOW

SN: 139849-UP

1шт.

17

6710-51-5170

ADAPTER

SN: 139849-UP

1шт.

18

6691-51-9961

NIPPLE

SN: 165104-UP

1шт.

|18

0

ELBOW

SN: 139849-165103

1шт.

19

6691-21-6540

BAND

SN: 139849-UP

2шт.

20

0

PIN¤ WITH THREAD

SN: 139849-UP

1шт.

21

0

PIN

SN: 139849-UP

1шт.

22

6643-11-4641

BOLT

SN: 139849-UP

2шт.

Выбрано товаров: 28