Запчасти Komatsu NT-855-1B АНТИКОРРОЗ. ЭЛЕМЕНТ ОХЛАЖД-Е И ЭЛЕКТРИКАS

Схема запчастей Komatsu NT-855-1B - АНТИКОРРОЗ. ЭЛЕМЕНТ ОХЛАЖД-Е И ЭЛЕКТРИКАS
FIT
1:1
100%

Артикул

Название

Примечание

Количество

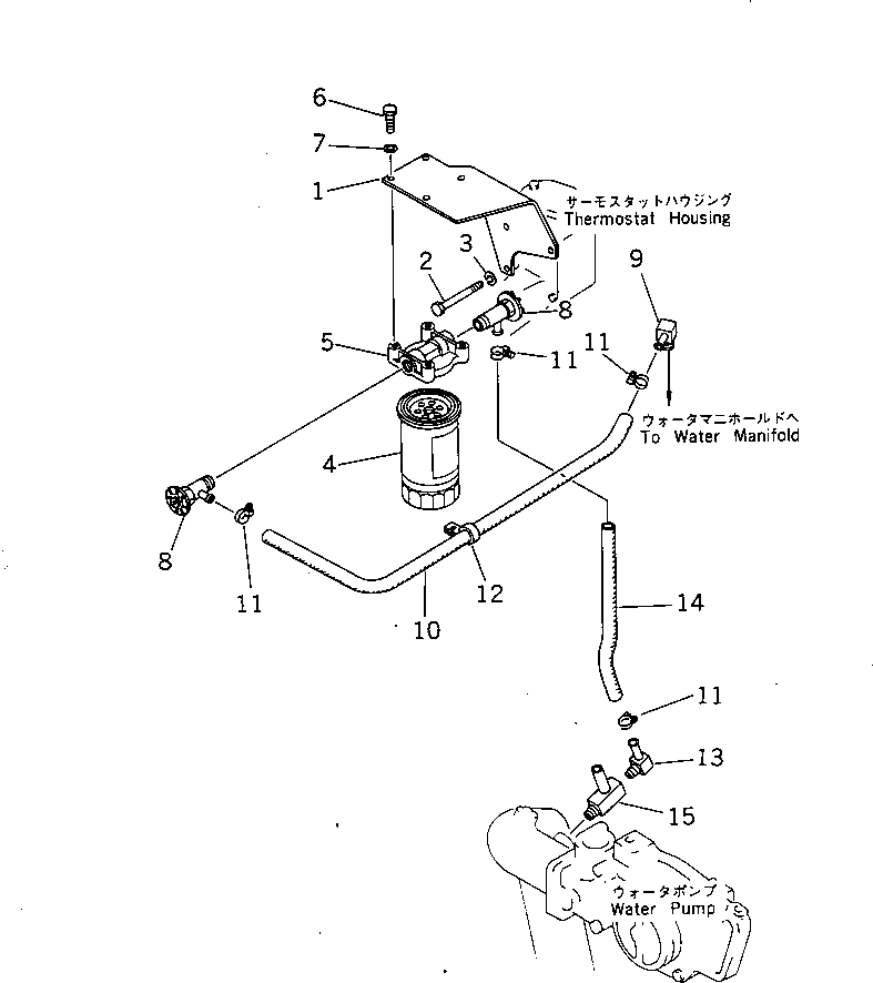
1

6711-21-6130

BRACKET

SN: 139849-UP

1шт.

2

02010-70695

BOLT

SN: 139849-UP

3шт.

3

01602-00929

WASHER,SPRING

SN: 139849-UP

3шт.

|4

6710-61-8105

RESISTOR ASS'Y,CORROSION

SN: 194318-UP

1шт.

|4

0

RESISTOR ASS'Y,CORROSION

SN: 180786-194317

1шт.

|4

0

RESISTOR ASS'Y,CORROSION

SN: 156287-180785

1шт.

|4

0

RESISTOR ASS'Y,CORROSION

SN: 139849-156286

1шт.

4

600-411-1150

CARTRIDGE

SN: 194318-UP

1шт.

|4

0

CARTRIDGE

SN: 180786-194317

1шт.

|4

0

CARTRIDGE

SN: 156287-180785

1шт.

|4

0

CARTRIDGE

SN: 139849-156286

1шт.

5

6710-61-8212

HEAD

SN: 139849-UP

1шт.

6

02010-70632

BOLT

SN: 139849-UP

4шт.

7

01602-00929

WASHER,SPRING

SN: 139849-UP

4шт.

8

6710-61-8411

VALVE

SN: .-UP

2шт.

|8

0

VALVE

SN: 139849-.

2шт.

9

6711-11-6231

ELBOW

SN: 139849-UP

1шт.

10

07260-20950

HOSE

SN: 139849-157047

1шт.

11

07281-00197

CLAMP

SN: 139849-UP

4шт.

12

6127-61-8190

CLAMP

SN: 139849-UP

1шт.

13

6127-61-8230

CONNECTOR

SN: 139849-UP

1шт.

14

07260-20945

HOSE

SN: 157048-UP

2шт.

|14

07260-20940

HOSE

SN: 139849-157047

1шт.

15

6672-62-8670

CONNECTOR

SN: 151243-UP

1шт.

Выбрано товаров: 24