Запчасти Komatsu NT-855-1B ГЕНЕРАТОР (A)(№87-) ОХЛАЖД-Е И ЭЛЕКТРИКАS

Схема запчастей Komatsu NT-855-1B - ГЕНЕРАТОР (A)(№87-) ОХЛАЖД-Е И ЭЛЕКТРИКАS
FIT
1:1
100%

Артикул

Название

Примечание

Количество

|1

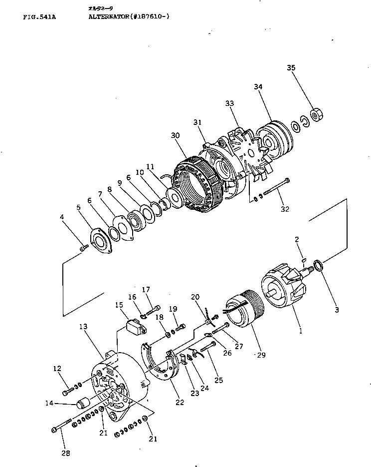
600-821-7160

ALTERNATOR A. (35A)

SN: 187610-UP

1шт.

|$$2

THE NIKKO DENKI PART NUMBER IS THAT KD IS REMOVED FROM KOMATSU PART NUMBER LISTED BELOW.

-1шт.

1

KD1-33100-1270

ROTOR ASS'Y

SN: 187610-UP

1шт.

2

KD1-0416-04160

KEY

SN: 187610-UP

1шт.

3

KD1-33923-0780

COLLAR

SN: 187610-UP

1шт.

4

KD1-0055-06162

SCREW

SN: 187610-UP

3шт.

5

KD1-33926-0740

RETAINER

SN: 187610-UP

1шт.

6

KD1-33951-0610

PACKING

SN: 187610-UP

2шт.

7

KD1-33926-0750

RETAINER

SN: 187610-UP

1шт.

8

KD1-0446-63057

BEARING,BALL

SN: 187610-UP

1шт.

9

KD1-33926-0730

RETAINER

SN: 187610-UP

1шт.

10

KD1-33923-0810

COLLAR

SN: 187610-UP

1шт.

11

KD1-33926-0770

RETAINER

SN: 187610-UP

1шт.

12

KD0-0080-05102

BOLT,E-TERMINAL

SN: 187610-UP

1шт.

|13

KD0-35700-0030

REAR BRACKET ASS'Y

SN: 187610-UP

1шт.

13

KD0-33710-2870

REAR BRACKET A.

SN: 187610-UP

1шт.

14

KD1-09202-0070

BEARING,ROLLER

SN: 187610-UP

1шт.

15

KD7-44000-0907

REGULATOR ASS'Y

SN: 187610-UP

1шт.

16

KD1-33786-0420

PLATE,TERMINAL

SN: 187610-UP

1шт.

17

KD0-0056-05162

SCREW

SN: 187610-UP

2шт.

18

KD1-09102-0010

PLATE,INSULATE

SN: 187610-UP

1шт.

19

KD0-0055-05252

SCREW

SN: 187610-UP

1шт.

20

KD1-0550-05013

PLATE,TERMINAL

SN: 187610-UP

1шт.

21

KD1-33943-0770

BUSHING,INSULATE

SN: 187610-UP

2шт.

22

KD0-33730-2190

RECTIFIER ASS'Y

SN: 187610-UP

1шт.

23

KD1-33928-0230

STOPPER

SN: 187610-UP

1шт.

24

KD1-33943-0760

BUSHING,INSULATE

SN: 187610-UP

1шт.

25

KD0-0080-05502

BOLT,R-TERMINAL

SN: 187610-UP

1шт.

26

KD1-33928-0220

STOPPER

SN: 187610-UP

1шт.

27

KD0-0080-05452

BOLT,B-TERMINAL

SN: 187610-UP

1шт.

28

KD0-0056-05452

SCREW

SN: 187610-UP

3шт.

29

KD0-33120-0220

FIELD COIL ASS'Y

SN: 187610-UP

1шт.

30

KD1-33200-1230

STATOR ASS'Y

SN: 187610-UP

1шт.

31

KD1-33310-1080

FRONT BRACKET ASS'Y

SN: 187610-UP

1шт.

32

KD0-0275-06852

BOLT

SN: 187610-UP

3шт.

33

KD1-33421-0510

FAN

SN: 187610-UP

1шт.

34

KD1-35411-0190

PULLEY

SN: 187610-UP

1шт.

35

KD0-0280-16022

NUT

SN: 187610-UP

1шт.

Выбрано товаров: 38