Запчасти Komatsu NT-855-1D ТЕРМОСТАТ ГОЛОВКА ЦИЛИНДРОВ

Схема запчастей Komatsu NT-855-1D - ТЕРМОСТАТ ГОЛОВКА ЦИЛИНДРОВ
FIT
1:1
100%

Артикул

Название

Примечание

Количество

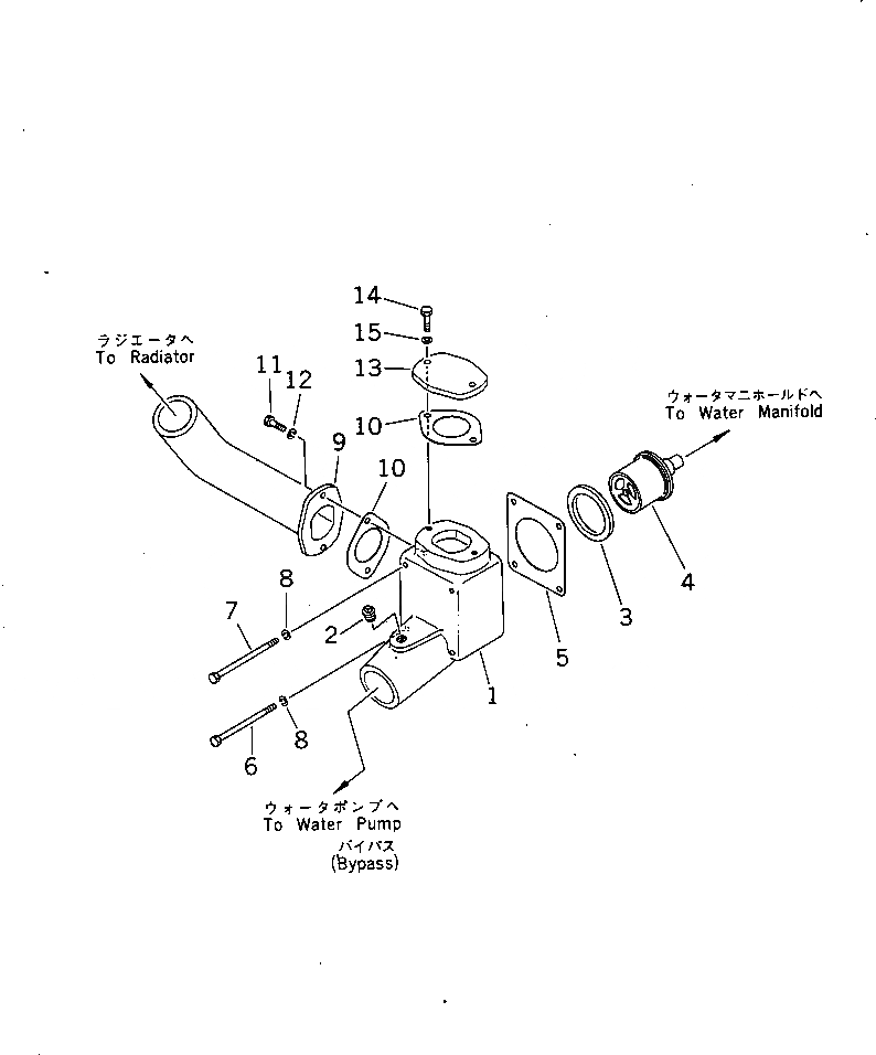
1

6711-11-6411

HOUSING,THERMOSTAT

SN: 153623-UP

1шт.

2

02720-20607

PLUG

SN: 153623-UP

1шт.

3

6710-11-6451

SEAL (K1)

SN: 153623-UP

1шт.

4

600-421-6610

THERMOSTAT

SN: 155814-UP

1шт.

|4

6610-11-6500

THERMOSTAT

SN: 153623-155813

1шт.

5

6711-11-6430

GASKET (K1)

SN: 153623-UP

1шт.

6

02010-70689

BOLT

SN: 153623-UP

1шт.

7

02010-70695

BOLT

SN: 153623-UP

3шт.

8

01602-00929

WASHER,SPRING

SN: 153623-UP

4шт.

9

6711-11-6340

CONNECTOR,WATER¤ OUTLET

SN: 153623-UP

1шт.

10

6610-11-6330

GASKET (K1)

SN: 153623-UP

2шт.

11

02010-70638

BOLT

SN: 153623-UP

2шт.

12

01602-00929

WASHER,SPRING

SN: 153623-UP

2шт.

13

6711-11-6380

COVER

SN: 153623-UP

1шт.

14

02010-70625

BOLT

SN: 153623-UP

2шт.

15

01602-00929

WASHER,SPRING

SN: 153623-UP

2шт.

Выбрано товаров: 16