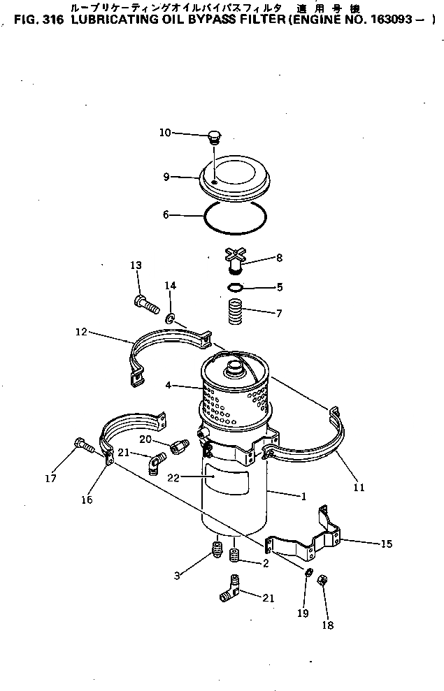
Запчасти Komatsu NT-855-1E СИСТЕМА СМАЗКИ МАСЛ. ПРОХОДНОЙ ФИЛЬТР СИСТЕМА СМАЗКИ МАСЛ. СИСТЕМА

Схема запчастей Komatsu NT-855-1E - СИСТЕМА СМАЗКИ МАСЛ. ПРОХОДНОЙ ФИЛЬТР СИСТЕМА СМАЗКИ МАСЛ. СИСТЕМА
FIT
1:1
100%

Артикул

Название

Примечание

Количество

|1

6684-51-5000

BYPASS FILTER A.

SN: 163093-UP

1шт.

|1

6610-51-5020

CASE ASS'Y

SN: 163093-UP

1шт.

1

0

CASE

SN: 163093-UP

1шт.

2

6610-51-5640

PLUG

SN: 163093-UP

1шт.

3

6610-51-4520

PLUG

SN: 163093-UP

1шт.

|4

6610-51-5050

ELEMENT ASS'Y

SN: 163093-UP

1шт.

4

0

ELEMENT

SN: 163093-UP

1шт.

5

6610-51-5620

O-RING

SN: 163093-UP

1шт.

6

02894-07201

O-RING

SN: 163093-UP

1шт.

7

6610-51-5630

SPRING

SN: 163093-UP

1шт.

8

6610-51-5610

SUPPORT

SN: 163093-UP

1шт.

9

6610-51-5510

COVER

SN: 163093-UP

1шт.

10

6610-51-4520

PLUG

SN: 163093-UP

1шт.

11

6610-51-5530

COUPLING

SN: 163093-UP

1шт.

12

6610-51-5520

COUPLING

SN: 163093-UP

1шт.

13

600-211-1850

BOLT

SN: .-UP

2шт.

|13

0

BOLT

SN: 163093-.

2шт.

14

02310-11020

WASHER,SPRING

SN: 163093-UP

2шт.

15

6610-51-5710

BAND

SN: 163093-UP

2шт.

16

6610-51-5720

BAND

SN: 163093-UP

2шт.

17

02010-20416

BOLT

SN: 163093-UP

8шт.

18

02205-10406

NUT

SN: 163093-UP

8шт.

19

02310-10916

WASHER,SPRING

SN: 163093-UP

8шт.

20

6710-51-5170

ADAPTER

SN: 163093-UP

1шт.

21

6127-51-5930

ELBOW

SN: 163093-UP

2шт.

22

09633-00125

PLATE¤ INSTRUCTION,(JAPANESE-ENGLISH)

SN: 163093-UP

1шт.

Выбрано товаров: 26