Запчасти Komatsu NT-855-1E КРЫШКА КОРОМЫСЛА ГОЛОВКА ЦИЛИНДРОВ

Схема запчастей Komatsu NT-855-1E - КРЫШКА КОРОМЫСЛА ГОЛОВКА ЦИЛИНДРОВ
FIT
1:1
100%

Артикул

Название

Примечание

Количество

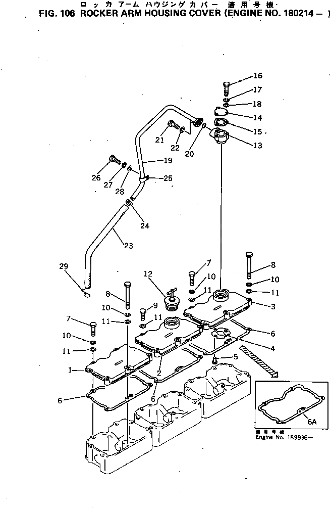
1

6710-11-8120

COVER

SN: 163093-UP

1шт.

2

6711-11-8110

COVER

SN: 163093-UP

1шт.

|3

6710-11-8201

BREATHER ASS'Y

SN: 163093-UP

1шт.

3

6710-11-8111

COVER

SN: 163093-UP

1шт.

4

6710-11-8212

BAFFLE

SN: 163093-UP

1шт.

5

04400-00616

RIVET

SN: 163093-UP

2шт.

6

6711-11-8810

GASKET (K1)

SN: 189936-UP

2шт.

|6

6711-11-8810

GASKET (K1)

SN: 163093-189935

3шт.

6A

6710-11-8810

GASKET (K1)

SN: 189936-UP

1шт.

7

02010-70625

BOLT

SN: 163093-UP

4шт.

8

02010-70651

BOLT

SN: 163093-UP

6шт.

9

02010-70616

BOLT

SN: 163093-UP

5шт.

10

02310-11224

WASHER,SPRING

SN: 163093-UP

10шт.

11

02300-11320

WASHER

SN: 163093-UP

15шт.

12

07025-00200

CAP

SN: 163093-UP

1шт.

|13

6710-21-7400

BREATHER ASS'Y

SN: 163093-UP

1шт.

13

6685-21-7410

BODY

SN: 163093-UP

1шт.

14

6685-21-7420

COVER

SN: 163093-UP

1шт.

15

6685-21-7430

GASKET (K1)

SN: 163093-UP

1шт.

16

02010-70422

BOLT

SN: 163093-UP

3шт.

17

02310-10916

WASHER,SPRING

SN: 163093-UP

3шт.

18

02300-10920

WASHER

SN: 163093-UP

3шт.

19

6710-21-7620

PIPE

SN: 163093-UP

1шт.

20

07000-03020

O-RING (K1)

SN: 163093-UP

1шт.

21

02010-70522

BOLT

SN: 163093-UP

2шт.

22

02310-11020

WASHER,SPRING

SN: 163093-UP

2шт.

23

07260-22090

HOSE

SN: 186783-UP

1шт.

|23

0

HOSE

SN: 180214-186782

1шт.

|23

0

HOSE

SN: 163093-180213

1шт.

24

07280-03423

CLAMP

SN: 163093-UP

1шт.

25

6693-22-7640

CLAMP

SN: 163093-UP

1шт.

26

02010-70825

BOLT

SN: 163093-UP

1шт.

27

01602-01338

WASHER,SPRING

SN: 163093-UP

1шт.

28

01640-21323

WASHER

SN: 163093-UP

1шт.

29

6710-21-7640

CLIP

SN: 163093-UP

1шт.

Выбрано товаров: 35