Запчасти Komatsu NT-855-1E PT ТОПЛИВН. НАСОС И ТРУБЫ(№8-) ТОПЛИВН. СИСТЕМА

Схема запчастей Komatsu NT-855-1E - PT ТОПЛИВН. НАСОС И ТРУБЫ(№8-) ТОПЛИВН. СИСТЕМА
FIT
1:1
100%

Артикул

Название

Примечание

Количество

1

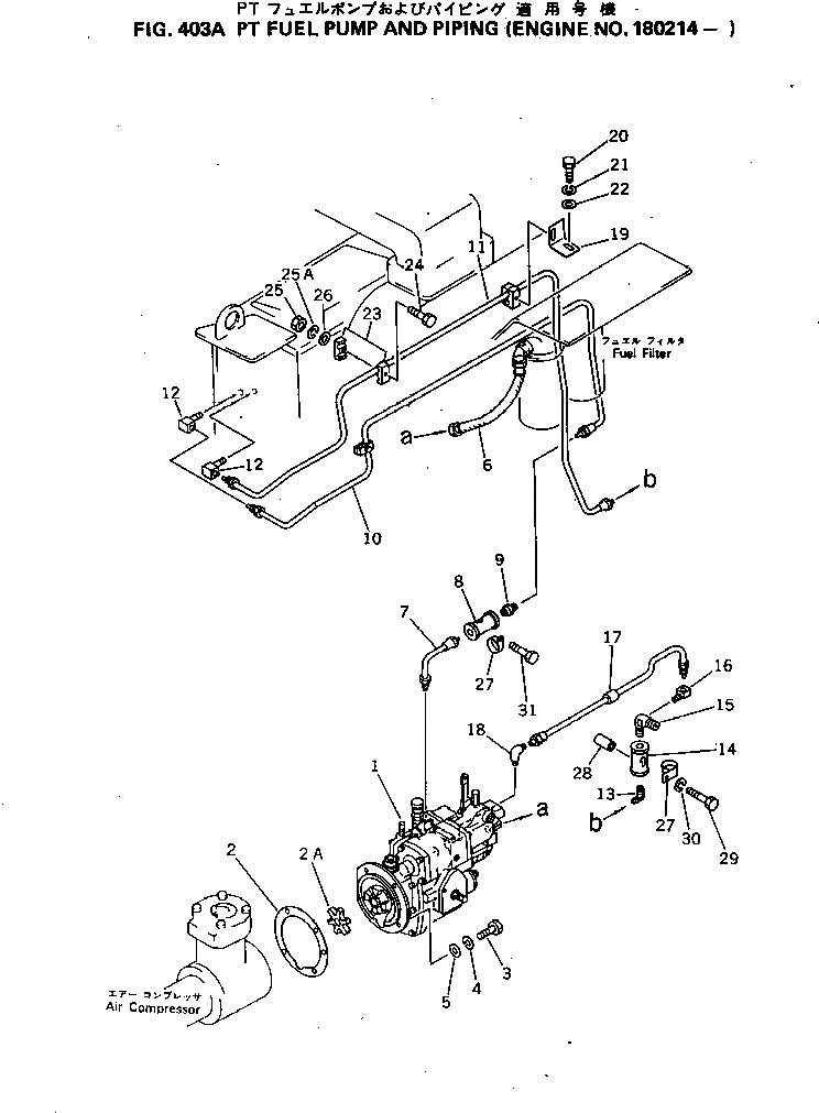
6711-71-1101

PT FUEL PUMP ASS'Y,(SEE FIG.451)

SN: 190561-UP

1шт.

1

6711-71-1100

PT FUEL PUMP ASS'Y,(SEE FIG.451)

SN: 163093-190560

1шт.

2

6710-71-7920

GASKET

SN: 163093-UP

1шт.

2A

6684-71-7712

COUPLING

SN: 163093-UP

1шт.

3

02010-70732

BOLT

SN: 163093-UP

4шт.

4

02310-11428

WASHER,SPRING

SN: 163093-UP

4шт.

5

02300-11520

WASHER

SN: 163093-UP

4шт.

6

6640-71-9551

HOSE ASS'Y

SN: 163093-UP

1шт.

7

6712-71-8232

PIPE

SN: 180214-UP

1шт.

8

6710-72-8220

VALVE,CHECK

SN: 163093-UP

1шт.

9

6710-71-9520

NIPPLE

SN: 180214-UP

1шт.

10

6712-71-8222

PIPE

SN: 180214-UP

1шт.

11

6712-71-9232

PIPE,DRAIN

SN: 180214-UP

1шт.

12

6712-71-8320

ELBOW

SN: 180214-UP

2шт.

13

6710-71-9530

ELBOW

SN: 163093-UP

1шт.

14

6710-72-8230

VALVE,CHECK

SN: 163093-UP

1шт.

15

6710-72-9510

ELBOW

SN: 163093-UP

1шт.

16

6710-71-9130

ELBOW

SN: 163093-UP

1шт.

17

6712-71-9241

PIPE

SN: 180214-UP

1шт.

18

6610-71-8190

ELBOW

SN: 180214-UP

1шт.

19

6712-71-8330

BRACKET

SN: 180214-UP

1шт.

20

02010-70625

BOLT

SN: 180214-UP

1шт.

21

01602-00929

WASHER,SPRING

SN: 180214-UP

1шт.

22

01640-01016

WASHER

SN: 180214-UP

1шт.

23

6711-71-8390

CLIP

SN: 180214-UP

8шт.

24

02010-70425

BOLT

SN: 180214-UP

4шт.

25

02205-10406

NUT

SN: 180214-UP

4шт.

25A

02310-10916

WASHER,SPRING

SN: 180214-UP

4шт.

26

02300-10920

WASHER

SN: 180214-UP

8шт.

27

6710-72-9380

CLAMP

SN: 163093-UP

2шт.

28

6676-21-6530

SPACER

SN: 163093-UP

1шт.

29

02030-70676

BOLT

SN: 163093-UP

1шт.

30

02310-11224

WASHER,SPRING

SN: 163093-UP

1шт.

31

02030-70613

BOLT

SN: 180214-UP

1шт.

Выбрано товаров: 34