Запчасти Komatsu NT-855-1F ГЛУШИТЕЛЬ ГОЛОВКА ЦИЛИНДРОВ

Схема запчастей Komatsu NT-855-1F - ГЛУШИТЕЛЬ ГОЛОВКА ЦИЛИНДРОВ
FIT
1:1
100%

Артикул

Название

Примечание

Количество

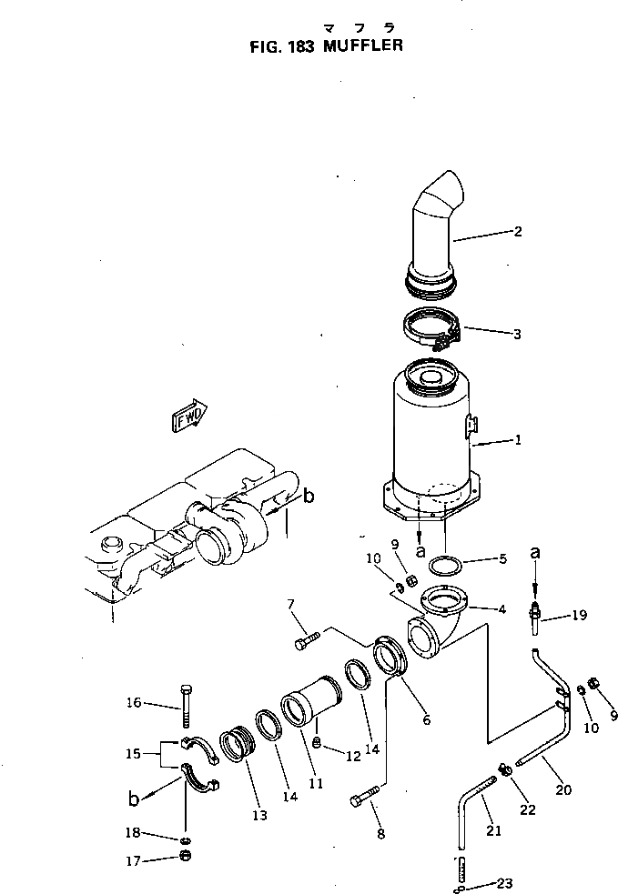
1

6711-11-5610

MUFFLER

SN: 172796-UP

1шт.

2

6711-11-5631

PIPE,EXHAUST

SN: 172796-UP

1шт.

3

6711-11-5620

COUPLING

SN: 172796-UP

1шт.

4

6711-11-5871

ELBOW

SN: 172796-UP

1шт.

5

6128-81-2830

RING,SEAL

SN: 172796-UP

1шт.

6

6711-11-5890

FLANGE

SN: 172796-UP

1шт.

7

01010-30835

BOLT

SN: 172796-UP

4шт.

8

01010-30840

BOLT

SN: 172796-UP

2шт.

9

01580-00806

NUT

SN: 172796-UP

6шт.

10

01602-00825

WASHER,SPRING

SN: 172796-UP

6шт.

11

6721-11-5750

JOINT

SN: 172796-UP

1шт.

12

07043-00211

PLUG

SN: 172796-UP

1шт.

13

6710-11-5720

JOINT

SN: 172796-UP

1шт.

14

6721-11-5770

RING,SEAL

SN: 172796-UP

2шт.

15

6657-11-5590

CLAMP

SN: 172796-UP

2шт.

16

01010-30870

BOLT

SN: 172796-UP

2шт.

17

01580-20806

NUT

SN: 172796-UP

2шт.

18

01602-00825

WASHER,SPRING

SN: 172796-UP

2шт.

19

6124-11-6151

NIPPLE

SN: 172796-UP

1шт.

20

6711-11-5671

PIPE

SN: 172796-UP

1шт.

21

07261-20914

HOSE

SN: 172796-UP

1шт.

22

07281-00197

CLAMP

SN: 172796-UP

1шт.

23

6710-21-7640

CLIP

SN: 172796-UP

1шт.

Выбрано товаров: 23