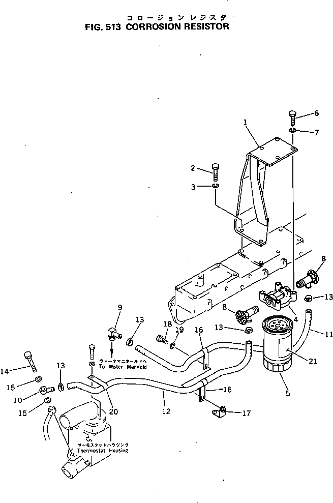
Запчасти Komatsu NT-855-1F АНТИКОРРОЗ. ЭЛЕМЕНТ ОХЛАЖД-Е И ЭЛЕКТРИКАS

Схема запчастей Komatsu NT-855-1F - АНТИКОРРОЗ. ЭЛЕМЕНТ ОХЛАЖД-Е И ЭЛЕКТРИКАS
FIT
1:1
100%

Артикул

Название

Примечание

Количество

1

6711-21-6140

BRACKET

SN: 172796-UP

1шт.

2

02010-70632

BOLT

SN: 172796-UP

3шт.

3

01602-00929

WASHER,SPRING

SN: 172796-UP

3шт.

|4

6710-61-8104

RESISTOR ASS'Y,CORROSION

SN: .-UP

1шт.

|4

0

RESISTOR ASS'Y,CORROSION

SN: 172796-.

1шт.

4

6710-61-8212

HEAD

SN: 172796-UP

1шт.

5

600-411-1020

CARTRIDGE

SN: .-UP

1шт.

|5

0

CARTRIDGE

SN: 172796-.

1шт.

6

02010-70632

BOLT

SN: 172796-UP

4шт.

7

01602-00929

WASHER,SPRING

SN: 172796-UP

4шт.

8

6710-61-8411

VALVE

SN: 172796-UP

2шт.

9

6711-11-6231

ELBOW

SN: 172796-UP

1шт.

10

6144-71-5750

JOINT

SN: 172796-UP

1шт.

11

07260-20971

HOSE

SN: 172796-UP

1шт.

12

07260-20971

HOSE

SN: .-UP

1шт.

|12

07260-20980

HOSE

SN: 172796-.

1шт.

13

07281-00197

CLAMP

SN: 172796-UP

4шт.

14

6127-71-5710

BOLT

SN: 172796-UP

1шт.

15

07005-01412

GASKET

SN: 172796-UP

2шт.

16

6114-61-8550

CLAMP

SN: 172796-UP

2шт.

17

6685-83-9720

BRACKET

SN: 172796-UP

1шт.

18

01010-30820

BOLT

SN: 172796-UP

1шт.

19

01602-00825

WASHER,SPRING

SN: 172796-UP

1шт.

20

6693-22-7650

CLAMP

SN: 172796-UP

1шт.

Выбрано товаров: 24