Запчасти Komatsu NT-855-1J PT ТОПЛИВН. НАСОС И ТРУБЫ ТОПЛИВН. СИСТЕМА

Схема запчастей Komatsu NT-855-1J - PT ТОПЛИВН. НАСОС И ТРУБЫ ТОПЛИВН. СИСТЕМА
FIT
1:1
100%

Артикул

Название

Примечание

Количество

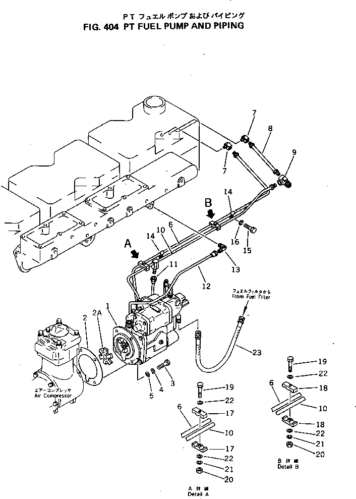
1

6711-71-1170

PT FUEL PUMP ASS'Y

SN: 173908-UP

1шт.

2

6710-71-7920

GASKET (K2)

SN: 173908-UP

1шт.

2A

6684-71-7712

COUPLING

SN: 173908-UP

1шт.

3

02010-70732

BOLT

SN: 173908-UP

4шт.

4

02310-11428

WASHER,SPRING

SN: 173908-UP

4шт.

5

02300-11520

WASHER

SN: 173908-UP

4шт.

6

6711-71-8250

TUBE

SN: 173908-UP

1шт.

7

6710-71-9130

ELBOW

SN: 173908-UP

2шт.

8

6710-71-9140

TUBE

SN: 173908-UP

1шт.

9

6710-72-9110

TEE

SN: 173908-UP

1шт.

10

6710-72-9250

PIPE

SN: 173908-UP

1шт.

11

6710-72-9290

PIPE

SN: 173908-UP

1шт.

12

6711-71-9390

TUBE

SN: 173908-UP

1шт.

13

02700-10702

ELBOW

SN: 173908-UP

1шт.

14

6710-71-8240

CLIP

SN: 173908-UP

2шт.

15

02010-70613

BOLT

SN: 173908-UP

2шт.

16

02310-11224

WASHER,SPRING

SN: 173908-UP

2шт.

17

6610-71-8250

CLIP

SN: 173908-UP

2шт.

18

6711-71-8390

CLIP

SN: 173908-UP

2шт.

19

02010-70425

BOLT

SN: 173908-UP

2шт.

20

02205-10406

NUT

SN: 173908-UP

2шт.

21

02310-10916

WASHER,SPRING

SN: 173908-UP

2шт.

22

02300-10920

WASHER

SN: 173908-UP

4шт.

23

02750-24080

HOSE

SN: 173908-UP

1шт.

Выбрано товаров: 24