Запчасти Komatsu NTA-855-1A МАСЛЯНЫЙ ПОДДОН(№7-7) БЛОК ЦИЛИНДРОВ

Схема запчастей Komatsu NTA-855-1A - МАСЛЯНЫЙ ПОДДОН(№7-7) БЛОК ЦИЛИНДРОВ
FIT
1:1
100%

Артикул

Название

Примечание

Количество

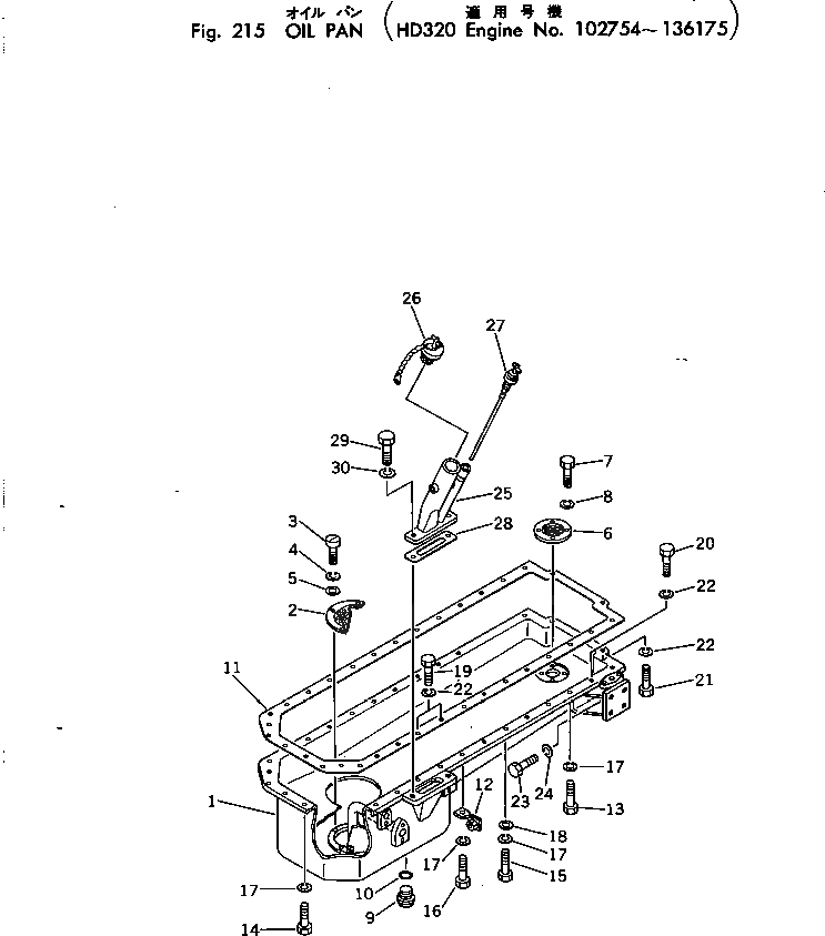
1

6710-21-5112

PAN

SN: 134152-136175

1шт.

|1

0

PAN

SN: .-134151

1шт.

|1

0

PAN

SN: 102754-.

1шт.

2

6710-21-5520

SCREEN

SN: 102754-136175

2шт.

3

01212-40612

SCREW

SN: 102754-136175

6шт.

4

01602-00619

WASHER

SN: 102754-136175

6шт.

5

01640-10610

WASHER

SN: 102754-136175

6шт.

6

6643-21-5520

SCREEN

SN: 102754-136175

1шт.

7

01010-30612

BOLT

SN: 102754-136175

4шт.

8

01602-00619

WASHER

SN: 102754-136175

4шт.

9

07044-13620

PLUG

SN: 102754-136175

1шт.

10

07000-63032

O-RING (K2)

SN: 102754-136175

1шт.

11

6623-21-5811

GASKET (K2)

SN: 102754-@

1шт.

12

6691-51-9980

PLATE

SN: .-@

1шт.

|12

6710-21-6590

PLATE

SN: 102754-.

1шт.

13

6610-21-5720

BOLT

SN: 127581-@

22шт.

|13

6610-21-5720

BOLT

SN: 105856-127580

20шт.

|13

6610-21-5720

BOLT

SN: 102754-105855

21шт.

14

02030-70732

BOLT

SN: 102754-@

4шт.

15

02030-70744

BOLT

SN: 102754-@

3шт.

16

02030-70738

BOLT

SN: .-@

2шт.

|16

02030-70744

BOLT

SN: 102754-.

2шт.

17

01602-01134

WASHER

SN: 127581-@

31шт.

|17

01602-01134

WASHER

SN: 105856-127580

28шт.

|17

01602-01134

WASHER

SN: 102754-105855

29шт.

18

01640-21123

WASHER

SN: 102754-@

3шт.

19

01010-30835

BOLT

SN: 102754-@

2шт.

20

01010-30830

BOLT

SN: 102754-@

1шт.

21

02030-70570

BOLT

SN: 102754-@

4шт.

22

01602-00825

WASHER

SN: 102754-@

7шт.

23

01010-31240

BOLT

SN: 102754-@

5шт.

24

01602-01236

WASHER

SN: 102754-@

5шт.

25

6693-22-5412

BRACKET

SN: .-@

1шт.

|25

0

BRACKET

SN: 102754-.

1шт.

26

07025-00100

CAP

SN: .-@

1шт.

|26

0

CAP

SN: 102754-.

1шт.

27

6693-22-5300

OIL GAUGE ASS'Y

SN: 102754-@

1шт.

28

6643-21-5421

GASKET (K2)

SN: 102754-@

1шт.

29

01010-31230

BOLT

SN: 102754-@

2шт.

30

01602-01236

WASHER

SN: 102754-@

2шт.

Выбрано товаров: 40