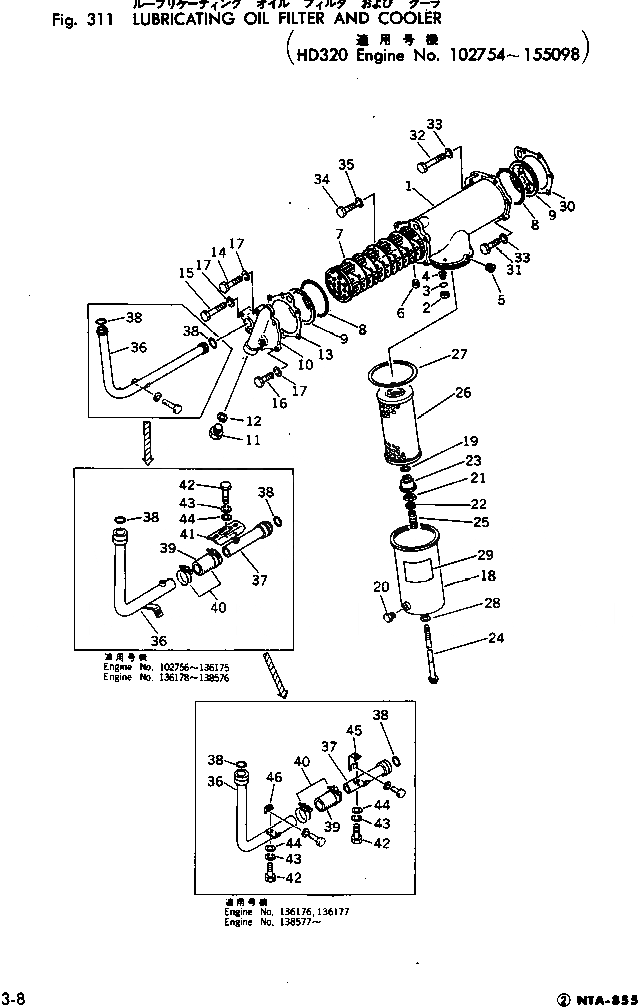
Запчасти Komatsu NTA-855-1A МАСЛ. ФИЛЬТР И ОХЛАДИТЕЛЬ(№7-98) СИСТЕМА СМАЗКИ МАСЛ. СИСТЕМА

Схема запчастей Komatsu NTA-855-1A - МАСЛ. ФИЛЬТР И ОХЛАДИТЕЛЬ(№7-98) СИСТЕМА СМАЗКИ МАСЛ. СИСТЕМА
FIT
1:1
100%

Артикул

Название

Примечание

Количество

|1

6710-61-5102

OIL COOLER ASS'Y

SN: 107819-155098

1шт.

|1

0

OIL COOLER ASS'Y

SN: 102756-107818

1шт.

|1

0

OIL COOLER ASS'Y

SN: 102754-102755

1шт.

|1

6710-61-5011

HOUSING ASS'Y

SN: 107819-@

1шт.

|1

0

HOUSING ASS'Y

SN: 102754-107818

1шт.

1

6710-61-5111

HOUSING

SN: 107819-@

1шт.

|1

0

HOUSING

SN: 102754-107818

1шт.

|$$8

(6710-61-5111{02720-20406)}

-1шт.

2

6710-51-4910

SEAT

SN: 102754-@

1шт.

3

6710-51-4920

DISC

SN: 102754-@

1шт.

4

6710-51-4350

SPRING

SN: 102754-@

1шт.

5

02720-20406

PLUG

SN: 107819-@

1шт.

|5

02720-20204

PLUG

SN: 102754-107818

1шт.

6

02720-20607

PLUG

SN: 102754-@

1шт.

7

6710-61-5300

ELEMENT

SN: 102754-@

1шт.

8

6710-61-5130

O-RING

SN: 102754-@

2шт.

9

6710-61-5140

RETAINER

SN: 102754-@

2шт.

10

6710-61-5151

COVER

SN: 102756-@

1шт.

|10

6710-61-5150

COVER

SN: 102754-102755

1шт.

11

07043-00617

PLUG

SN: 102756-@

1шт.

|11

6710-61-5180

PLUG

SN: 102754-102755

1шт.

12

6710-61-5190

WASHER

SN: 102754-102755

1шт.

13

6710-61-5160

GASKET

SN: 102754-@

1шт.

14

02010-70651

BOLT

SN: 102754-@

1шт.

15

02010-70657

BOLT

SN: 102754-@

1шт.

16

02010-70632

BOLT

SN: 102754-@

4шт.

17

01602-00929

WASHER

SN: 102754-@

6шт.

|18

6710-51-4010

OIL FILTER ASS'Y

SN: 102754-155098

1шт.

18

6710-51-4220

SHELL

SN: 102754-155098

1шт.

19

6710-51-4330

RING

SN: 102754-155098

1шт.

20

6610-21-2720

PLUG

SN: 102754-155098

1шт.

21

6710-51-4290

SEAL

SN: 102754-155098

1шт.

22

6710-51-4260

WASHER

SN: 102754-155098

1шт.

23

6710-51-4280

SUPPORT

SN: 102754-155098

1шт.

24

6710-51-4270

BOLT

SN: 102754-155098

1шт.

25

6710-51-4340

SPRING

SN: 102754-155098

1шт.

|26

6710-50-5101

ELEMENT ASS'Y

SN: 102754-155098

1шт.

26

0

ELEMENT

SN: 102754-155098

1шт.

27

6710-51-4810

RING

SN: 102754-155098

1шт.

28

6710-51-4260

WASHER

SN: 102754-155098

1шт.

29

09645-00120

PLATE¤ INSTRUCTION

SN: 142313-155098

1шт.

|29

09635-00120

PLATE¤ INSTRUCTION

SN: .-142312

1шт.

|29

0

PLATE¤ INSTRUCTION

SN: 102754-.

1шт.

30

6710-61-5250

GASKET (K2)

SN: 102754-@

1шт.

31

02010-70632

BOLT

SN: 102754-@

5шт.

32

02010-70676

BOLT

SN: 102754-@

1шт.

33

01602-00929

WASHER

SN: 102754-@

6шт.

34

02010-70625

BOLT

SN: 102754-@

1шт.

35

01602-00929

WASHER

SN: 102754-@

1шт.

36

6710-61-2613

PIPE

SN: 138577-@

1шт.

|36

6710-61-2612

PIPE

SN: 136178-138576

1шт.

|36

6710-61-2613

PIPE

SN: 136176-136177

1шт.

|36

6710-61-2612

PIPE

SN: 102756-136175

1шт.

|36

6710-61-2611

PIPE

SN: 102754-102755

1шт.

37

6710-61-2631

PIPE

SN: 138577-@

1шт.

|37

6710-61-2630

PIPE

SN: 136178-138576

1шт.

|37

6710-61-2631

PIPE

SN: 136176-136177

1шт.

|37

6710-61-2630

PIPE

SN: 102756-136175

1шт.

38

07000-03038

O-RING (K2)

SN: 102756-@

2шт.

|38

0

O-RING

SN: 102754-102755

2шт.

39

6710-61-6551

HOSE

SN: 147151-@

1шт.

|39

0

HOSE

SN: 138577-147150

1шт.

|39

0

HOSE

SN: 136178-138576

1шт.

|39

0

HOSE

SN: 136176-136177

1шт.

|39

0

HOSE

SN: 102756-136175

1шт.

40

07281-00549

CLAMP

SN: .-@

2шт.

|40

0

CLAMP

SN: 112272-.

2шт.

|40

0

CLAMP

SN: 102756-112271

2шт.

41

6685-61-6571

PLATE

SN: 136178-138576

1шт.

|41

6685-61-6571

PLATE

SN: 102756-136175

1шт.

42

01010-30620

BOLT

SN: 102756-@

2шт.

43

01602-00619

WASHER

SN: 102756-@

2шт.

44

01640-00610

WASHER

SN: 102756-@

2шт.

45

6710-61-2640

CLAMP

SN: 138577-@

1шт.

|45

6710-61-2640

CLAMP

SN: 136176-136177

1шт.

46

6710-61-2650

CLAMP

SN: 138577-@

1шт.

|46

6710-61-2650

CLAMP

SN: 136176-136177

1шт.

Выбрано товаров: 0