Запчасти Komatsu NTA-855-1A ВОДЯНОЙ КОЛЛЕКТОР И ТЕРМОСТАТ ГОЛОВКА ЦИЛИНДРОВ

Схема запчастей Komatsu NTA-855-1A - ВОДЯНОЙ КОЛЛЕКТОР И ТЕРМОСТАТ ГОЛОВКА ЦИЛИНДРОВ
FIT
1:1
100%

Артикул

Название

Примечание

Количество

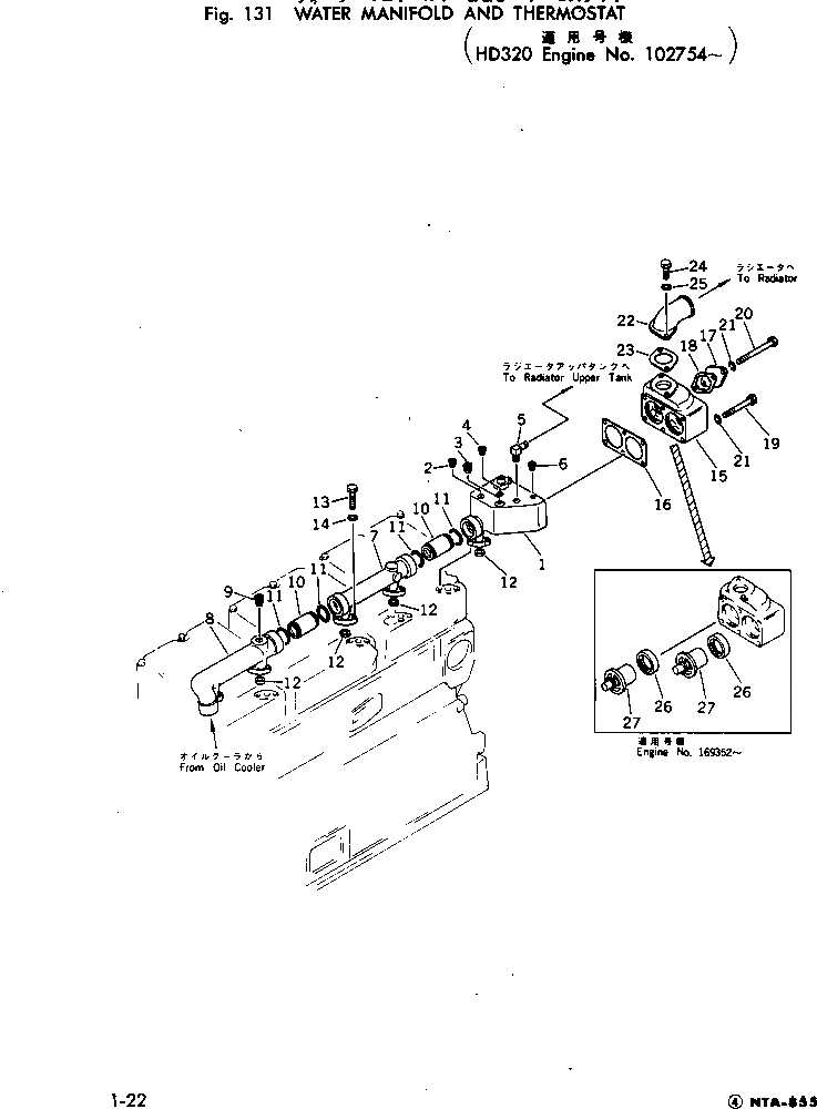
1

6710-11-6110

MANIFOLD

SN: 102754-UP

1шт.

2

02720-20607

PLUG

SN: 102754-UP

1шт.

3

02720-21214

PLUG

SN: 102754-UP

1шт.

4

02720-20810

PLUG

SN: 102754-UP

1шт.

5

6711-11-6231

ELBOW

SN: 155099-UP

1шт.

|5

0

ELBOW

SN: 102754-155098

1шт.

6

02720-20204

PLUG

SN: 102754-UP

1шт.

7

6710-11-6120

MANIFOLD

SN: 102754-UP

1шт.

8

6710-11-6131

MANIFOLD

SN: 102756-UP

1шт.

|8

6710-11-6130

MANIFOLD

SN: 102754-102755

1шт.

9

07043-00415

PLUG

SN: 102756-UP

1шт.

10

6710-11-6140

COUPLING

SN: 102754-UP

2шт.

11

02893-05043

O-RING (K1)

SN: 102754-UP

4шт.

12

6710-11-6820

RING (K1)

SN: 102754-UP

6шт.

13

02010-70632

BOLT

SN: 102754-UP

12шт.

14

01602-00929

WASHER

SN: 102754-UP

12шт.

15

6710-11-6410

HOUSING

SN: 102754-UP

1шт.

16

6710-11-6430

GASKET

SN: 102754-UP

1шт.

17

6710-11-6511

COVER

SN: 102756-UP

1шт.

|17

6710-11-6510

COVER

SN: 102754-102755

1шт.

18

6710-61-6620

GASKET (K1)

SN: 102754-UP

1шт.

19

02011-70602

BOLT

SN: 102754-UP

4шт.

20

02011-70621

BOLT

SN: 102756-UP

2шт.

|20

02011-20614

BOLT

SN: 102754-102755

2шт.

21

02310-01224

WASHER

SN: 102754-UP

6шт.

22

6710-11-6310

CONNECTION

SN: 102754-UP

1шт.

23

6710-11-6330

GASKET (K1)

SN: 102754-UP

1шт.

24

02010-70625

BOLT

SN: 102754-UP

2шт.

25

02310-11224

WASHER

SN: 102754-UP

2шт.

26

6710-11-6451

SEAL (K1)

SN: 169352-UP

2шт.

27

600-421-6610

THERMOSTAT

SN: 169352-UP

2шт.

Выбрано товаров: 0