Запчасти Komatsu NTA-855-1A ПРОХОДНОЙ ФИЛЬТР СИСТЕМА СМАЗКИ МАСЛ. СИСТЕМА

Схема запчастей Komatsu NTA-855-1A - ПРОХОДНОЙ ФИЛЬТР СИСТЕМА СМАЗКИ МАСЛ. СИСТЕМА
FIT
1:1
100%

Артикул

Название

Примечание

Количество

|$0

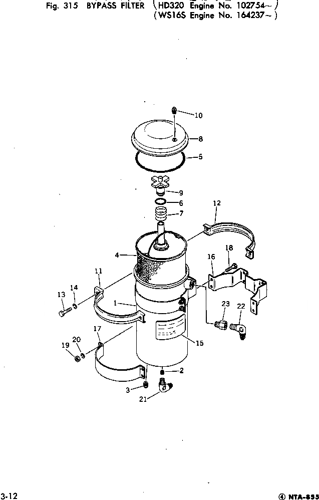
6631-51-5000

OIL FILTER ASS'Y

SN: .-UP

1шт.

|$1

0

BYPASS FILTER A.

SN: 102754-.

1шт.

1

6610-51-5100

CASE

SN: 102754-UP

1шт.

2

6610-51-5640

PLUG

SN: 102754-UP

1шт.

3

6631-51-4520

PLUG

SN: .-UP

1шт.

3

6610-51-4520

PLUG

SN: 102754-.

1шт.

|$6

6610-51-5050

ELEMENT ASS'Y

SN: 102754-UP

1шт.

4

0

ELEMENT

SN: 102754-UP

1шт.

5

02894-07201

O-RING

SN: 102754-UP

1шт.

6

6610-51-5620

O-RING

SN: 102754-UP

1шт.

7

6610-51-5630

SPRING

SN: 102754-UP

1шт.

8

6610-51-5510

COVER

SN: 102754-UP

1шт.

9

6610-51-5610

SUPPORT

SN: 102754-UP

1шт.

10

6631-51-4520

PLUG

SN: .-UP

1шт.

10

6610-51-4520

PLUG

SN: 102754-.

1шт.

11

6610-51-5520

COUPLING

SN: 102754-UP

1шт.

12

6610-51-5530

COUPLING

SN: 102754-UP

1шт.

13

600-211-1850

BOLT

SN: 102754-UP

2шт.

14

02310-11020

WASHER

SN: .-UP

2шт.

14

0

WASHER

SN: 102754-.

2шт.

15

09645-00120

PLATE, INSTRUCTION

SN: 142313-UP

1шт.

15

09634-00120

PLATE, INSTRUCTION

SN: .-142312

1шт.

15

0

PLATE, INSTRUCTION

SN: 102754-.

1шт.

16

6610-51-5710

BAND

SN: 102754-UP

2шт.

17

6610-51-5720

BAND

SN: 102754-UP

2шт.

18

02010-30419

BOLT

SN: 102754-UP

8шт.

19

02205-10406

NUT

SN: 102754-UP

8шт.

20

02310-10916

WASHER

SN: 102754-UP

8шт.

21

6600-01-3240

ELBOW

SN: 102754-UP

1шт.

22

6691-51-9951

ELBOW

SN: 102754-UP

1шт.

23

6710-51-5170

ADAPTER

SN: 140893-UP

1шт.

Выбрано товаров: 0