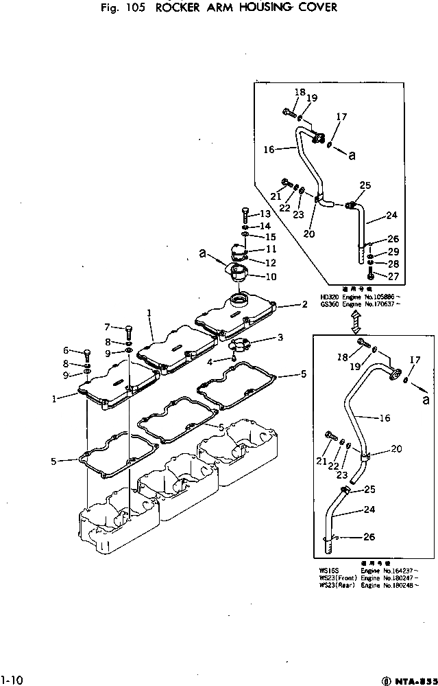
Запчасти Komatsu NTA-855-1A КРЫШКА КОРОМЫСЛА ГОЛОВКА ЦИЛИНДРОВ

Схема запчастей Komatsu NTA-855-1A - КРЫШКА КОРОМЫСЛА ГОЛОВКА ЦИЛИНДРОВ
FIT
1:1
100%

Артикул

Название

Примечание

Количество

1

6710-11-8120

COVER

SN: 102754-UP

2шт.

|$1

6710-11-8201

BREATHER ASS'Y

SN: 102754-UP

1шт.

2

6710-11-8111

COVER

SN: 102754-UP

1шт.

3

6710-11-8212

BAFFLE

SN: 102754-UP

1шт.

4

04400-00616

RIVET

SN: 102754-UP

2шт.

5

6710-11-8810

GASKET (K1)

SN: 102754-UP

3шт.

6

02010-70625

BOLT

SN: 102754-UP

6шт.

7

02010-70651

BOLT

SN: 102754-UP

9шт.

8

02310-11224

WASHER

SN: 102754-UP

15шт.

9

02300-11320

WASHER

SN: 102754-UP

15шт.

|$10

6710-21-7400

BREATHER ASS'Y

SN: 102754-UP

1шт.

10

6685-21-7410

BODY

SN: 102754-UP

1шт.

11

6685-21-7420

COVER

SN: 102754-UP

1шт.

12

6685-21-7430

GASKET (K1)

SN: 102754-UP

1шт.

13

02010-70422

BOLT

SN: .-UP

3шт.

13

0

BOLT

SN: 102754-.

3шт.

14

02310-10916

WASHER

SN: 102754-UP

3шт.

15

02300-10916

WASHER

SN: 102754-UP

3шт.

16

6710-21-7620

PIPE

SN: 102754-UP

1шт.

17

07000-03020

O-RING (K1)

SN: .-UP

1шт.

17

0

O-RING

SN: 102754-.

1шт.

18

02010-70522

BOLT

SN: 102754-UP

2шт.

19

01602-00825

WASHER

SN: 102754-UP

2шт.

20

6693-22-7640

CLAMP

SN: 102754-UP

1шт.

21

02010-70825

BOLT

SN: 102754-UP

1шт.

22

01602-01338

WASHER

SN: 102754-UP

1шт.

23

01640-21323

WASHER

SN: 102754-UP

1шт.

24

07260-22055

HOSE

SN: .-UP

1шт.

24

0

HOSE

SN: 105886-.

1шт.

25

07280-03423

CLAMP

SN: 105886-UP

1шт.

26

6710-21-7640

CLIP

SN: 105886-UP

1шт.

27

02030-50738

BOLT

SN: 105886-UP

1шт.

28

01602-01134

WASHER

SN: 105886-UP

1шт.

29

01640-21123

WASHER

SN: 105886-UP

1шт.

Выбрано товаров: 34