Запчасти Komatsu NTA-855-1A ЛИНИЯ СМАЗКИ ТУРБОНАГНЕТАТЕЛЯ(№7-98) СИСТЕМА СМАЗКИ МАСЛ. СИСТЕМА

Схема запчастей Komatsu NTA-855-1A - ЛИНИЯ СМАЗКИ ТУРБОНАГНЕТАТЕЛЯ(№7-98) СИСТЕМА СМАЗКИ МАСЛ. СИСТЕМА
FIT
1:1
100%

Артикул

Название

Примечание

Количество

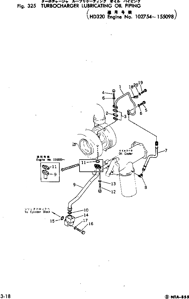
1

6710-81-9560

PIPE

SN: 102754-@

1шт.

2

6125-51-8130

ORIFICE

SN: 102754-@

1шт.

3

6128-51-8151

GASKET (K1, K2)

SN: 155099-@

2шт.

3

0

GASKET (K2)

SN: 102754-155098

2шт.

4

01010-30830

BOLT

SN: 102754-@

2шт.

5

01010-30840

BOLT

SN: 102754-@

1шт.

6

01602-00825

WASHER

SN: 102754-@

3шт.

7

02750-02035

HOSE

SN: 102754-@

1шт.

8

6710-81-9590

ELBOW

SN: 102754-@

1шт.

9

6710-81-9711

PIPE

SN: 116939-155098

1шт.

9

0

PIPE

SN: 102754-116938

1шт.

|$$12

(6710-81-9711,6120-51-6820)

-1шт.

10

07000-63035

O-RING (K2)

SN: 102754-155098

1шт.

11

6120-51-6820

GASKET (K2)

SN: 116939-155098

1шт.

11

07000-63038

O-RING (K2)

SN: 102754-116938

1шт.

12

01010-31030

BOLT

SN: 102754-@

2шт.

13

01602-01030

WASHER

SN: 102754-@

2шт.

14

6710-81-9729

CONNECTOR,(FORGING)

SN: 102754-155098

1шт.

14

6710-81-9720

CONNECTOR,(CASTING)

SN: 102754-155098

1шт.

15

07000-63032

O-RING (K2)

SN: 102754-155098

1шт.

16

01010-31060

BOLT

SN: 102754-155098

2шт.

17

01602-01030

WASHER

SN: 102754-155098

2шт.

18

6710-51-8240

CLAMP

SN: 102754-@

1шт.

18

0

CLIP

SN: (102754-136177)

1шт.

19

01010-30820

BOLT

SN: 102754-@

1шт.

20

01602-00825

WASHER

SN: 102754-@

1шт.

Выбрано товаров: 26