Запчасти Komatsu NTA-855-1A ТРУБОПРОВОД ВПУСКА ВОЗДУХА И ПОСЛЕОХЛАДИТЕЛЬ ГОЛОВКА ЦИЛИНДРОВ

Схема запчастей Komatsu NTA-855-1A - ТРУБОПРОВОД ВПУСКА ВОЗДУХА И ПОСЛЕОХЛАДИТЕЛЬ ГОЛОВКА ЦИЛИНДРОВ
FIT
1:1
100%

Артикул

Название

Примечание

Количество

|$0

6710-11-4103

AFTER COOLER ASS'Y

SN: 136150-UP

1шт.

|$1

0

AFTER COOLER ASS'Y

SN: 116939-136149

1шт.

|$$3

(6710-11-4103,01010-30830(4),

-1шт.

|$$4

01602-00825(4),01640-20816(4))

-1шт.

|$4

0

AFTER COOLER ASS'Y

SN: 102756-116938

1шт.

|$5

0

AFTER COOLER ASS'Y

SN: 102754-102755

1шт.

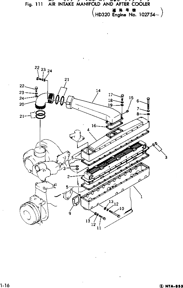
1

6710-11-4110

HOUSING

SN: 102754-UP

1шт.

2

6710-61-6112

CORE

SN: 116939-UP

1шт.

2

0

CORE

SN: 102756-116938

1шт.

2

0

CORE

SN: 102754-102755

1шт.

3

6710-61-6340

O-RING (K1)

SN: 102754-UP

4шт.

4

6710-11-4120

COVER

SN: 102754-UP

1шт.

5

6128-11-4720

GASKET (K1)

SN: 136150-UP

2шт.

5

6710-11-4821

GASKET (K1)

SN: 102756-136149

2шт.

5

0

GASKET

SN: 102754-102755

2шт.

6

02011-70502

BOLT

SN: 102754-UP

20шт.

7

02310-11020

WASHER

SN: .-UP

20шт.

7

0

WASHER

SN: 102754-.

20шт.

8

01642-20810

WASHER

SN: 102754-UP

20шт.

9

6610-11-4812

GASKET (K1)

SN: 151214-UP

3шт.

9

0

GASKET (K1)

SN: 127581-151213

3шт.

9

0

GASKET

SN: 102754-127580

3шт.

10

02011-70627

BOLT

SN: .-UP

6шт.

10

0

BOLT

SN: 102754-.

6шт.

11

02010-70638

BOLT

SN: 102754-UP

3шт.

12

02310-11224

WASHER

SN: .-UP

9шт.

12

0

WASHER

SN: 102754-.

9шт.

13

02300-11320

WASHER

SN: .-UP

9шт.

13

0

WASHER

SN: 102754-.

9шт.

14

6710-11-4230

PIPE

SN: 102754-UP

1шт.

15

02720-20204

PLUG

SN: 102754-UP

1шт.

16

6710-11-4221

GASKET (K1)

SN: 102756-UP

1шт.

16

0

GASKET

SN: 102754-102755

1шт.

17

01010-30830

BOLT

SN: 136150-UP

4шт.

17

02010-70638

BOLT

SN: 102754-136149

4шт.

18

01602-00825

WASHER

SN: 136150-UP

4шт.

18

01602-00929

WASHER

SN: 102754-136149

4шт.

19

01640-20816

WASHER

SN: 136150-UP

4шт.

19

01640-21016

WASHER

SN: 102754-136149

4шт.

20

6710-11-4721

ELBOW

SN: 155099-UP

1шт.

20

0

ELBOW

SN: 102754-155098

1шт.

21

07000-65095

O-RING (K1)

SN: 102754-UP

4шт.

22

01010-30820

BOLT

SN: 102754-UP

4шт.

23

01602-00825

WASHER

SN: 102754-UP

4шт.

24

6710-11-4780

PLATE (K1)

SN: 102754-UP

4шт.

Выбрано товаров: 45