Запчасти Komatsu NTA-855-1A КОМПРЕССОР АКСЕССУАРЫ

Схема запчастей Komatsu NTA-855-1A - КОМПРЕССОР АКСЕССУАРЫ
FIT
1:1
100%

Артикул

Название

Примечание

Количество

|$0

6710-91-1005

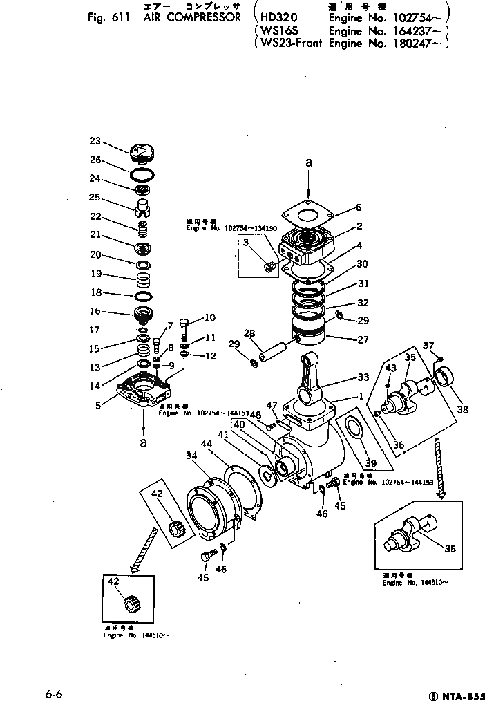
AIR COMPRESSOR ASS'Y

SN: 144510-UP

1шт.

|$1

6710-91-1004

AIR COMPRESSOR ASS'Y

SN: 144154-144509

1шт.

|$2

6710-91-1003

AIR COMPRESSOR ASS'Y

SN: 134191-144153

1шт.

|$3

6710-91-1002

AIR COMPRESSOR ASS'Y

SN: 131086-134190

1шт.

|$4

0

AIR COMPRESSOR ASS'Y

SN: 116168-131085

1шт.

|$5

0

AIR COMPRESSOR ASS'Y

SN: 102754-116167

1шт.

1

6710-91-2110

CASE

SN: 102754-UP

1шт.

2

6710-91-1110

HEAD

SN: 134191-UP

1шт.

2

6684-91-1111

HEAD

SN: 102754-134190

1шт.

3

02720-20810

PLUG

SN: 102754-134190

1шт.

4

6684-91-1151

GASKET (K5)

SN: 102754-UP

1шт.

5

6684-91-1120

COVER

SN: 102754-UP

1шт.

6

6684-91-1130

GASKET (K5)

SN: 102754-UP

1шт.

7

02010-70522

BOLT

SN: 102754-UP

2шт.

8

02310-11020

WASHER

SN: 102754-UP

2шт.

9

6684-91-1140

WASHER

SN: 102754-UP

2шт.

10

02010-70570

BOLT

SN: 102754-UP

4шт.

11

02310-11020

WASHER

SN: 102754-UP

4шт.

12

02300-11120

WASHER

SN: 102754-UP

4шт.

13

6684-91-1220

SPRING

SN: 102754-UP

1шт.

14

6684-91-1260

PLATE

SN: 102754-UP

1шт.

15

6684-91-1210

VALVE

SN: 102754-UP

1шт.

16

6684-91-1230

SEAT

SN: 102754-UP

1шт.

17

6684-91-1241

O-RING (K5)

SN: 102754-UP

1шт.

18

6684-91-1250

O-RING (K5)

SN: 102754-UP

1шт.

19

6684-91-1321

SPRING

SN: 102754-UP

1шт.

20

6684-91-1311

VALVE

SN: 102754-UP

1шт.

21

6684-91-1330

SEAT

SN: 102754-UP

1шт.

22

6684-91-1421

SPRING

SN: 131086-UP

1шт.

22

0

SPRING

SN: 102754-131085

1шт.

23

6684-91-1611

BODY

SN: 102754-UP

1шт.

24

6684-91-1521

SEAL (K5)

SN: 102754-UP

1шт.

25

6684-91-1411

CAP

SN: 102754-UP

1шт.

26

6684-91-1621

O-RING (K5)

SN: 102754-UP

1шт.

|$34

6684-91-3201

PISTON ASS'Y (STD)

SN: 102754-UP

1шт.

|$35

6684-99-3201

PISTON ASS'Y,0.25MM (OS)

SN: 102754-UP

1шт.

|$36

6684-98-3201

PISTON ASS'Y,0.50MM (OS)

SN: 102754-UP

1шт.

|$37

6684-97-3201

PISTON ASS'Y,0.75MM (OS)

SN: 102754-UP

1шт.

27

6684-91-3211

PISTON (STD)

SN: 102754-UP

1шт.

27

6684-99-3211

PISTON,0.25MM (OS)

SN: 102754-UP

1шт.

27

6684-98-3211

PISTON,0.50MM (OS)

SN: 102754-UP

1шт.

27

6684-97-3211

PISTON,0.75MM (OS)

SN: 102754-UP

1шт.

28

6684-91-3250

PIN

SN: 102754-UP

1шт.

29

6684-91-3260

RING

SN: 102754-UP

2шт.

|$$45

STANDARD

-1шт.

|$45

6684-91-3021

PISTON RING ASS'Y

SN: 102754-UP

1шт.

30

0

RING

SN: 102754-UP

1шт.

31

0

RING

SN: 102754-UP

1шт.

32

0

RING

SN: 102754-UP

1шт.

|$$50

OVERSIZE 0.25MM

-1шт.

30

6684-99-3021

PISTON RING ASS'Y

SN: 102754-UP

1шт.

30

0

RING

SN: 102754-UP

1шт.

31

0

RING

SN: 102754-UP

1шт.

32

0

RING

SN: 102754-UP

1шт.

|$$55

OVERSIZE 0.50MM

-1шт.

30

6684-98-3021

PISTON RING ASS'Y

SN: 102754-UP

1шт.

30

0

RING

SN: 102754-UP

1шт.

31

0

RING

SN: 102754-UP

1шт.

32

0

RING

SN: 102754-UP

1шт.

|$$60

OVERSIZE 0.75MM

-1шт.

30

6684-97-3021

PISTON RING ASS'Y

SN: 102754-UP

1шт.

30

0

RING

SN: 102754-UP

1шт.

31

0

RING

SN: 102754-UP

1шт.

32

0

RING

SN: 102754-UP

1шт.

33

6684-91-3312

ROD

SN: 102754-UP

1шт.

34

6710-91-2212

SUPPORT

SN: 144154-UP

1шт.

34

6710-91-2211

SUPPORT

SN: 116168-144153

1шт.

34

0

SUPPORT

SN: 102754-116167

1шт.

35

6710-91-3111

CRANKSHAFT

SN: 144510-UP

1шт.

35

6710-91-3110

CRANKSHAFT

SN: 102754-144509

1шт.

36

6710-91-3210

PLUG

SN: 116168-144509

1шт.

37

02720-20104

PLUG

SN: 102754-UP

1шт.

38

6710-91-2310

BUSHING

SN: 102754-UP

1шт.

39

6684-91-2501

WASHER

SN: 102754-144153

1шт.

40

6710-91-2321

BUSHING

SN: 116168-144153

1шт.

40

0

BUSHING

SN: 102754-116167

1шт.

41

6710-91-2410

WASHER

SN: 102754-UP

1шт.

42

6710-71-2381

COUPLING

SN: 144510-UP

1шт.

42

6710-71-2380

COUPLING

SN: 102754-144509

1шт.

43

02410-00622

KEY

SN: 102754-144509

1шт.

44

6684-91-2221

GASKET (K5)

SN: 102754-UP

1шт.

45

02010-70632

BOLT

SN: 102754-UP

6шт.

46

02310-11224

WASHER

SN: 102754-UP

6шт.

47

6684-91-2610

PLATE, NAME

SN: 102754-UP

1шт.

48

04418-02550

SCREW

SN: 102754-UP

2шт.

Выбрано товаров: 85