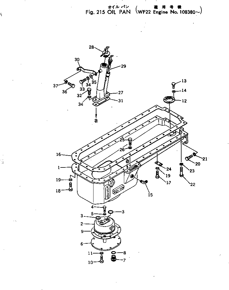
Запчасти Komatsu NTC-743-1B МАСЛЯНЫЙ ПОДДОН БЛОК ЦИЛИНДРОВ

Схема запчастей Komatsu NTC-743-1B - МАСЛЯНЫЙ ПОДДОН БЛОК ЦИЛИНДРОВ
FIT
1:1
100%

Артикул

Название

Примечание

Количество

1

6668-21-5110

PAN

SN: 108380-UP

1шт.

2

6685-21-5511

SCREEN

SN: 108380-UP

1шт.

3

6685-21-5540

GASKET (KIT)

SN: 108380-UP

2шт.

4

01050-31016

BOLT

SN: 108380-UP

1шт.

5

01602-11030

WASHER

SN: 108380-UP

1шт.

6

6685-21-5611

COVER

SN: 108380-UP

1шт.

7

07044-13620

PLUG

SN: 108380-UP

1шт.

8

07000-03032

O-RING (KIT)

SN: 108380-UP

1шт.

9

6685-21-5620

GASKET (KIT)

SN: 108380-UP

1шт.

10

01050-31020

BOLT

SN: 108380-UP

8шт.

11

01602-01030

WASHER

SN: 108380-UP

8шт.

12

6643-21-5520

SCREEN

SN: 108380-UP

1шт.

13

01010-30612

BOLT

SN: 108380-UP

4шт.

14

01602-00619

WASHER

SN: 108380-UP

4шт.

15

02701-11208

ELBOW

SN: 108380-UP

1шт.

16

6623-21-5812

GASKET (KIT)

SN: 139268-UP

1шт.

|16

0

GASKET (KIT)

SN: 108380-139267

1шт.

17

6610-21-5720

BOLT

SN: 108380-UP

26шт.

18

02010-30732

BOLT

SN: 108380-UP

4шт.

19

02310-01428

WASHER

SN: 108380-UP

30шт.

20

01040-31235

BOLT

SN: 108380-UP

5шт.

21

01602-01236

WASHER

SN: 108380-UP

5шт.

22

02030-30570

BOLT

SN: 108380-UP

4шт.

23

02310-11020

WASHER

SN: 108380-UP

4шт.

24

6610-21-5730

CLAMP

SN: 108380-UP

1шт.

25

01010-30830

BOLT

SN: 108380-UP

1шт.

26

01602-00825

WASHER

SN: 108380-UP

1шт.

27

6657-22-5411

BRACKET

SN: 108380-UP

1шт.

28

07025-00100

CAP

SN: .-UP

1шт.

|28

0

CAP

SN: 108380-.

1шт.

29

6685-21-5303

OIL GAUGE ASS'Y

SN: 108380-UP

1шт.

30

6667-21-5450

STAY

SN: 108380-UP

1шт.

31

6643-21-5421

GASKET (KIT)

SN: 108380-UP

1шт.

32

01050-31230

BOLT

SN: 108380-UP

2шт.

33

01010-31225

BOLT

SN: 108380-UP

1шт.

34

01602-01236

WASHER

SN: 108380-UP

3шт.

35

01640-01223

WASHER

SN: 108380-UP

1шт.

36

02010-30825

BOLT

SN: 108380-UP

1шт.

37

02310-11632

WASHER

SN: 108380-UP

1шт.

Выбрано товаров: 39